k-part
Номер на схеме Каталожный номер Название Количество Детали
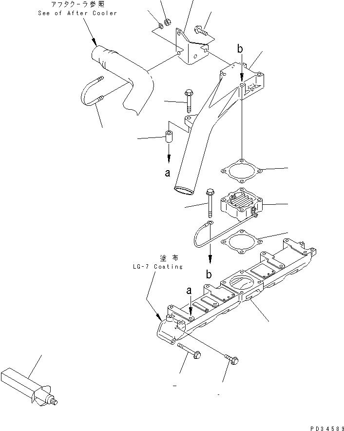
? 6206-11-4111 MANIFOLD,AIR INTAKE 1
SN: 150915-
? 01435-21085 BOLT 1
SN: 150915-
? 01435-21030 BOLT 11
SN: 150915-
? 600-815-2341 HEATER,RIBON 1
SN: 150915-
? 6209-11-4720 CONNECTOR,AIR 1
SN: 150915-
? 01435-01075 BOLT 1
SN: 150915-
? 6166-11-5390 SPACER 1
SN: 150915-
? 6136-11-4850 GASKET (K1) 2
SN: 150915-
? 01436-01010 BOLT 4
SN: 150915-
? 6209-11-4730 BRACKET 1
SN: 150915-
? 01435-21020 BOLT 2
SN: 150915-
? 07283-27060 CLIP 1
SN: 150915-
? 01599-01011 NUT 2
SN: 150915-
? 01643-31032 WASHER 2
SN: 150915-
? 09920-00150 LIQUID GASKET,LG-7¤ 150G A/R
SN: 150915-

Engines Komatsu / SAA6D95LE-1A S/N 150915-UP(saa6d92r) / AIR INTAKE(030080 : A1310-A0K7)
?
?
?
?
?
?
?
?
?
?
?
?
?
?
?
?