k-part
Номер на схеме Каталожный номер Название Количество Детали
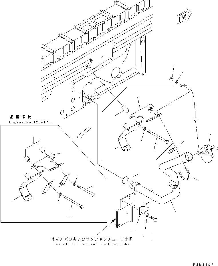
? 07025-00100 CAP 1
SN: 11797-
KIT-FLAG: _-
SERIALNO: 11797-
? 6215-21-7350 FILLER,OIL 1
SN: 11797-
KIT-FLAG: _-
SERIALNO: 11797-
? 07000-E3038 O-RING (K2) 1
SN: 12470-
KIT-FLAG: S-
SERIALNO: 12470-
? ♦07000-33038 O-RING (K2) 1
SN: 11797-12469
KIT-FLAG: S-
SERIALNO: 11797-12469
? 01010-81025 BOLT 2
SN: 11797-
KIT-FLAG: _-
SERIALNO: 11797-
? 6215-21-7280 BRACKET 1
SN: 11797-
KIT-FLAG: _-
SERIALNO: 11797-
? 07283-54353 SEAT 1
SN: 11797-
KIT-FLAG: _-
SERIALNO: 11797-
? 07283-24354 CLIP 1
SN: 11797-
KIT-FLAG: _-
SERIALNO: 11797-
? 01599-01011 NUT 2
SN: 11797-
KIT-FLAG: _-
SERIALNO: 11797-
? 01643-31032 WASHER 4
SN: 11797-
KIT-FLAG: _-
SERIALNO: 11797-
? 6215-21-7370 PLATE 1
SN: 11797-
KIT-FLAG: _-
SERIALNO: 11797-
? 283-62-18120 SPACER 2
SN: 12041-
KIT-FLAG: _-
SERIALNO: 12041-
? 6162-63-3910 SPACER 2
SN: 11797-12040
KIT-FLAG: _-
SERIALNO: 11797-12040
? 6215-81-8830 BRACKET 1
SN: 11797-
KIT-FLAG: _-
SERIALNO: 11797-
? 6164-61-7170 BOLT 2
SN: 12041-
KIT-FLAG: _-
SERIALNO: 12041-
? 426-15-16410 BOLT 2
SN: 11797-12040
KIT-FLAG: _-
SERIALNO: 11797-12040
? 01640-21016 WASHER 2
SN: 11797-
KIT-FLAG: _-
SERIALNO: 11797-
? 01011-81095 BOLT 1
SN: 11797-
KIT-FLAG: _-
SERIALNO: 11797-
? 01643-31032 WASHER 1
SN: 11797-
KIT-FLAG: _-
SERIALNO: 11797-

Engines Komatsu / SDA12V140-1B-A S/N 10001-UP(sda12v4c) / OIL FILLER(#11797-)(030360 : A2070-A7B2)
?
?
?
?
?
?
?
?
?
?
?
?
?
?
?
?
?
?
?
?
?
?