k-part
Номер на схеме Каталожный номер Название Количество Детали
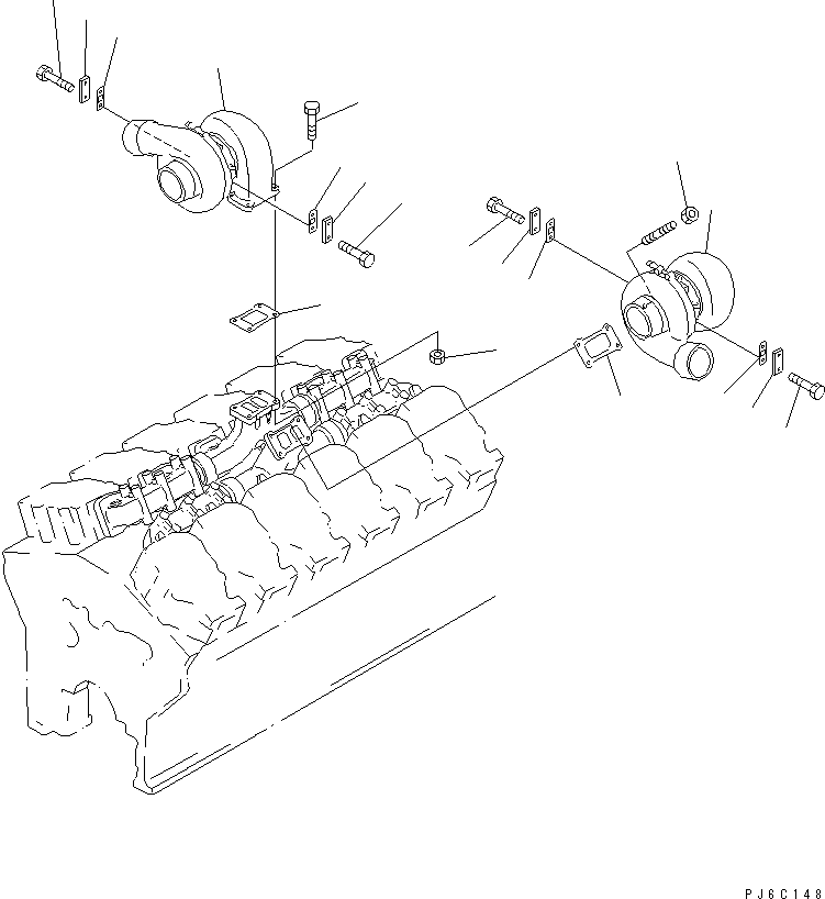
? (6505-63-5011) TURBOCHARGER ASS'Y,L.H. (SEE FIG.A1530-B7C7) 1
SN: 13101-
KIT-FLAG: _-
SERIALNO: 13101-
? (☒6505-63-5010) TURBOCHARGER,L.H. (SEE FIG.A1530-B7C7Z) 1
SN: (13101-13496)
KIT-FLAG: _-
SERIALNO: (13101-13496)
? (6505-63-5021) TURBOCHARGER ASS'Y,R.H. (SEE FIG.A1530-B7C7) 1
SN: 13101-
KIT-FLAG: _-
SERIALNO: 13101-
? (☒6505-63-5020) TURBOCHARGER,R.H. (SEE FIG.A1530-B7C7Z) 1
SN: (13101-13496)
KIT-FLAG: _-
SERIALNO: (13101-13496)
? 6212-15-5831 GASKET (K1) 2
SN: 13101-
KIT-FLAG: S-
SERIALNO: 13101-
? 6114-11-5590 NUT 8
SN: 13101-
KIT-FLAG: _-
SERIALNO: 13101-
? 6138-13-4510 BOLT 4
SN: 13101-
KIT-FLAG: _-
SERIALNO: 13101-
? 6164-62-8230 PLATE 4
SN: 13101-
KIT-FLAG: _-
SERIALNO: 13101-
? 6164-62-8241 GASKET (K1) 4
SN: 13101-
KIT-FLAG: S-
SERIALNO: 13101-
? 01010-E1025 BOLT 8
SN: 13101-
KIT-FLAG: _-
SERIALNO: 13101-

Engines Komatsu / SA12V140-1U-A S/N 10001-UP(sa12v1ic) / TURBOCHARGER MOUNTING (HIGH ALTITUDE SPEC.)(#13101-)(030220 : A1530-A7C7)
?
?
?
?
?
?
?
?
?
?
?
?
?
?
?
?
?
?
?