k-part
Номер на схеме Каталожный номер Название Количество Детали
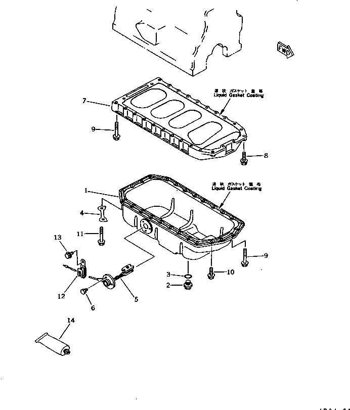
? YM129436-01770 OIL PAN ASS'Y 1
SN: 00101-
? YM171301-01640 • PLUG,DRAIN 1
SN: 00101-
? YM24341-000240 • O-RING 1
SN: 00101-
? YM129100-01790 • PLATE 2
SN: 00101-
? YM129136-91390 GAUGE ASS'Y,OIL LEVEL 1
SN: 00101-
? YM24341-000260 • O-RING 1
SN: 00101-
? YM26013-060129 BOLT 3
SN: 00101-
? YM129400-01730 SPACER 1
SN: 00101-
? YM26106-080252 BOLT 2
SN: 00101-
? YM26106-080452 BOLT 20
SN: 00101-
? YM26106-080162 BOLT 4
SN: 00101-
? YM26106-080502 BOLT 4
SN: 00101-
? YM194180-51640 CLAMP 1
SN: 00101-
? YM129136-91360 BOLT 1
SN: 02698-
? □YM26106-100142 BOLT 1
SN: 00101-02697
? (YM977770-01212) LIQUID GASKET A/R
SN: 00101-

Engines Komatsu / 4D84-2B S/N 00000-UP(4d84-2br) / OIL PAN(#00101-)(060030 : 0211)