k-part
Номер на схеме Каталожный номер Название Количество Детали
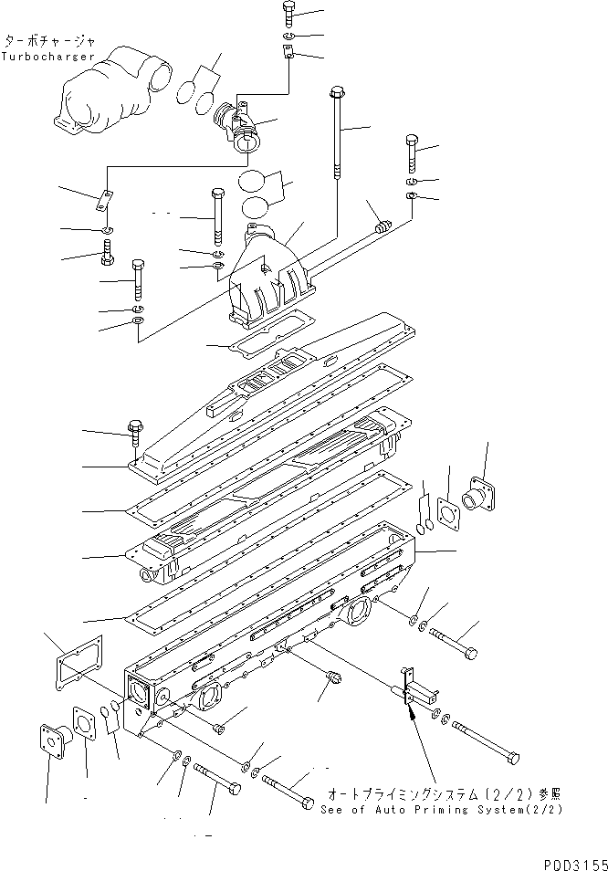
? 6162-15-4110 MANIFOLD,AIR INTAKE 1
SN: 18669-
? 6162-65-6120 CORE ASS'Y 1
SN: 18669-
? 6162-15-4660 COVER 1
SN: 18669-
? 6162-13-4141 GASKET 2
SN: 18669-
? 01435-00840 BOLT 38
SN: 18669-
? 6162-63-6830 CONNECTOR 2
SN: 18669-
? 6162-63-6230 O-RING 4
SN: 18669-
? 6162-63-6841 GASKET (K1) 2
SN: 18669-
? 07042-00108 PLUG 1
SN: 18669-
? 02720-41214 PLUG 1
SN: 18669-
? 6162-13-4812 GASKET (K1) 6
SN: 18669-
? 01010-81095 BOLT 15
SN: 18669-
? 01011-81055 BOLT 15
SN: 18669-
? 01602-01030 WASHER,SPRING 30
SN: 18669-
? 01640-21016 WASHER 30
SN: 18669-
? 6162-13-4361 CONNECTOR 1
SN: 18669-
? 6162-13-4310 CONNECTOR,AIR 1
SN: 18669-
? 02895-67075 O-RING (K1) 4
SN: 18669-
? 07042-00108 PLUG 2
SN: 18669-
? 6162-13-4741 GASKET (K1) 1
SN: 18669-
? 362-846-1170 PLATE 2
SN: 18669-
? 01010-81020 BOLT 4
SN: 18669-
? 01602-01030 WASHER,SPRING 4
SN: 18669-
? 01010-80840 BOLT 4
SN: 18669-
? 6222-11-4910 BOLT 1
SN: 18669-
? 6140-14-5460 BOLT 1
SN: 18669-
? 01602-00825 WASHER,SPRING 5
SN: 18669-
? 01641-20812 WASHER 5
SN: 18669-

Engines Komatsu / SA6D170E-2E S/N 17353-UP(sa6d17ic) / AIR INTAKE MANIFOLD AND AFTER COOLER(#18669-)(030040 : A1310-A6D4)
?
?
?
?
?
?
?
?
?
?
?
?
?
?
?
?
?
?
?
?
?
?
?
?
?
?
?
?
?
?
?
?
?
?
?
?
?
?
?
?
?
?
?
?
?
?