| Номер на схеме | Каталожный номер | Название | Количество | Детали | |||
|---|---|---|---|---|---|---|---|
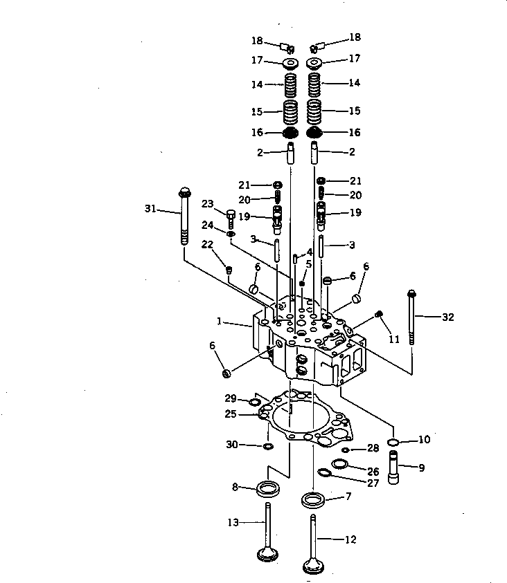
| ? | 6211-11-1101 | CYLINDER HEAD ASS'Y,VALVE LESS | 6 | SN: 18682- |
|||
| ? | ☆ | • HEAD,CYLINDER | 1 | SN: 18682- |
|||
| ? | 6210-16-1340 | • GUIDE,VALVE | 4 | SN: 18682- |
|||
| ? | 6210-11-1140 | • GUIDE,CROSSHEAD | 2 | SN: 18682- |
|||
| ? | 04020-00820 | • PIN,DOWEL | 2 | SN: 18682- |
|||
| ? | 07046-41810 | • PLUG | 1 | SN: 18682- |
|||
| ? | 6162-13-1150 | • PLUG,EXPANSION | 12 | SN: 18682- |
|||
| ? | 6210-11-1330 | • INSERT,INTAKE VALVE (STD) | 2 | SN: 18682- |
|||
| ? | 6210-19-1330 | • INSERT ? 0.25MM,INTAKE VALVE (OS) | 2 | SN: 18682- |
|||
| ? | 6210-18-1330 | • INSERT ? 0.50MM,INTAKE VALVE (OS) | 2 | SN: 18682- |
|||
| ? | 6210-17-1330 | • INSERT ? 0.75MM,INTAKE VALVE (OS) | 2 | SN: 18682- |
|||
| ? | 6210-16-1330 | • INSERT ? 1.00MM,INTAKE VALVE (OS) | 2 | SN: 18682- |
|||
| ? | 6210-11-1321 | • INSERT,EXHAUST VALVE (STD) | 2 | SN: 18682- |
|||
| ? | 6210-19-1321 | • INSERT ? 0.25MM,EXHAUST VALVE (OS) | 2 | SN: 18682- |
|||
| ? | 6210-18-1321 | • INSERT ? 0.50MM,EXHAUST VALVE (OS) | 2 | SN: 18682- |
|||
| ? | 6210-17-1321 | • INSERT ? 0.75MM,EXHAUST VALVE (OS) | 2 | SN: 18682- |
|||
| ? | 6210-16-1321 | • INSERT ? 1.00MM,EXHAUST VALVE (OS) | 2 | SN: 18682- |
|||
| ? | 6210-11-1150 | • PIPE | 1 | SN: 18682- |
|||
| ? | 07000-63025 | • O-RING (K1) | 1 | SN: 18682- |
|||
| ? | 07043-50108 | • PLUG | 1 | SN: 18682- |
|||
| ? | 6215-41-4110 | VALVE,INTAKE | 12 | SN: 18682- |
|||
| ? | 6215-41-4212 | VALVE,EXHAUST | 12 | SN: 18682- |
|||
| ? | 6210-41-4440 | SPRING,INNER | 24 | SN: 18682- |
|||
| ? | 6210-41-4430 | SPRING,OUTER | 24 | SN: 18682- |
|||
| ? | 6210-41-4530 | SEAT,LOWER | 24 | SN: 18682- |
|||
| ? | 6210-41-4510 | SEAT,UPPER | 24 | SN: 18682- |
|||
| ? | 6136-41-4520 | COTTER | 48 | SN: 18682- |
|||
| ? | 6210-41-5620 | CROSSHEAD | 12 | SN: 18682- |
|||
| ? | 6210-41-5640 | SCREW | 12 | SN: 18682- |
|||
| ? | 6127-41-5630 | NUT | 12 | SN: 18682- |
|||
| ? | 02720-40104 | PLUG | 6 | SN: 18682- |
|||
| ? | 01010-51016 | BOLT | 6 | SN: 18682- |
|||
| ? | 07003-01015 | GASKET | 6 | SN: 18682- |
|||
| ? | STANDARD | ||||||
| ? | 6210-17-1813 | GASKET,HEAD (K1) | 6 | SN: 18682- |
|||
| ? | 6210-11-1820 | • GROMMET,OIL | 1 | SN: 18682- |
|||
| ? | 6210-11-1830 | • GROMMET,OIL | 1 | SN: 18682- |
|||
| ? | 6210-11-1840 | • GROMMET,OIL | 1 | SN: 18682- |
|||
| ? | 6210-11-1962 | • GROMMET,WATER | 1 | SN: 18682- |
|||
| ? | 6210-11-1952 | • GROMMET,WATER | 4 | SN: 18682- |
|||
| ? | OVERSIZE 0.40MM | ||||||
| ? | 6210-19-1813 | GASKET,HEAD | 6 | SN: 18682- |
|||
| ? | 6210-19-1820 | • GROMMET,OIL | 1 | SN: 18682- |
|||
| ? | 6210-19-1830 | • GROMMET,OIL | 1 | SN: 18682- |
|||
| ? | 6210-19-1840 | • GROMMET,OIL | 1 | SN: 18682- |
|||
| ? | 6210-19-1962 | • GROMMET,WATER | 1 | SN: 18682- |
|||
| ? | 6210-19-1952 | • GROMMET,WATER | 4 | SN: 18682- |
|||
| ? | 6210-11-1610 | BOLT | 36 | SN: 18682- |
|||
| ? | 6150-81-9160 | BOLT | 6 | SN: 18682- |
