| Номер на схеме | Каталожный номер | Название | Количество | Детали | |||
|---|---|---|---|---|---|---|---|
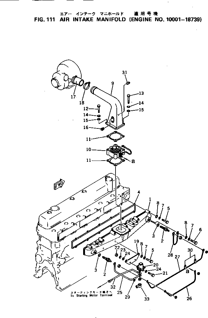
| ? | 6136-11-4110 | MANIFOLD,INTAKE | 1 | SN: 12124-18739 KIT-FLAG: _- SERIALNO: 12124-18739 |
|||
| ? | 600-815-2350 | HEATER,COIL | 2 | SN: 12124-@ KIT-FLAG: _- SERIALNO: 12124-@ |
|||
| ? | 07003-02228 | • GASKET (K1) | 1 | SN: 12124-@ KIT-FLAG: _- SERIALNO: 12124-@ |
|||
| ? | 6136-11-4811 | GASKET (K1) | 1 | SN: 12124-@ KIT-FLAG: _- SERIALNO: 12124-@ |
|||
| ? | 01010-30865 | BOLT | 10 | SN: 12124-@ KIT-FLAG: _- SERIALNO: 12124-@ |
|||
| ? | 01010-30850 | BOLT | 2 | SN: 12124-@ KIT-FLAG: _- SERIALNO: 12124-@ |
|||
| ? | 01602-00825 | WASHER,SPRING | 12 | SN: 12124-@ KIT-FLAG: _- SERIALNO: 12124-@ |
|||
| ? | 01640-00816 | WASHER | 12 | SN: 12124-@ KIT-FLAG: _- SERIALNO: 12124-@ |
|||
| ? | 6137-11-4311 | CONNECTOR,AIR | 1 | SN: 12124-@ KIT-FLAG: _- SERIALNO: 12124-@ |
|||
| ? | 600-815-2341 | HEATER,RIBBON | 1 | SN: 12124-@ KIT-FLAG: _- SERIALNO: 12124-@ |
|||
| ? | 6136-11-4820 | GASKET (K1) | 2 | SN: 12124-@ KIT-FLAG: _- SERIALNO: 12124-@ |
|||
| ? | 01010-30870 | BOLT | 3 | SN: 12124-18739 KIT-FLAG: _- SERIALNO: 12124-18739 |
|||
| ? | 01010-30875 | BOLT | 1 | SN: 12124-@ KIT-FLAG: _- SERIALNO: 12124-@ |
|||
| ? | 01602-00825 | WASHER,SPRING | 4 | SN: 12124-@ KIT-FLAG: _- SERIALNO: 12124-@ |
|||
| ? | 01640-20816 | WASHER | 4 | SN: 12124-@ KIT-FLAG: _- SERIALNO: 12124-@ |
|||
| ? | 07042-00108 | PLUG | 2 | SN: 12124-@ KIT-FLAG: _- SERIALNO: 12124-@ |
|||
| ? | 6137-11-4371 | HOSE | 1 | SN: 12124-@ KIT-FLAG: _- SERIALNO: 12124-@ |
|||
| ? | 07281-00709 | CLAMP | 2 | SN: 12124-@ KIT-FLAG: _- SERIALNO: 12124-@ |
|||
| ? | 6136-81-4111 | PLATE | 1 | SN: 12124-@ KIT-FLAG: _- SERIALNO: 12124-@ |
|||
| ? | (600-815-2170) | SWITCH | 1 | SN: 12124-@ KIT-FLAG: _- SERIALNO: 12124-@ |
|||
| ? | □600-815-2360 | SWITCH,RELAY | 1 | SN: 12124-18739 KIT-FLAG: _- SERIALNO: 12124-18739 |
|||
| ? | 01010-30620 | BOLT | 2 | SN: 12124-@ KIT-FLAG: _- SERIALNO: 12124-@ |
|||
| ? | 01580-00605 | NUT | 2 | SN: 12124-@ KIT-FLAG: _- SERIALNO: 12124-@ |
|||
| ? | 01602-00619 | WASHER,SPRING | 2 | SN: 12124-@ KIT-FLAG: _- SERIALNO: 12124-@ |
|||
| ? | 01641-00608 | WASHER | 4 | SN: 12124-@ KIT-FLAG: _- SERIALNO: 12124-@ |
|||
| ? | 6136-81-4210 | WIRE | 1 | SN: 12124-@ KIT-FLAG: _- SERIALNO: 12124-@ |
|||
| ? | 6136-81-4220 | WIRE | 1 | SN: 12124-@ KIT-FLAG: _- SERIALNO: 12124-@ |
|||
| ? | 6136-81-4230 | WIRE | 1 | SN: 12124-@ KIT-FLAG: _- SERIALNO: 12124-@ |
|||
| ? | 6136-81-4240 | WIRE | 1 | SN: 12124-@ KIT-FLAG: _- SERIALNO: 12124-@ |
|||
| ? | 08036-11210 | CLIP | 1 | SN: 12124-@ KIT-FLAG: _- SERIALNO: 12124-@ |
|||
| ? | 08036-10814 | CLIP | 2 | SN: .-@ KIT-FLAG: _- SERIALNO: .-@ |
|||
| ? | 07042-00415 | PLUG | 1 | SN: 12124-@ KIT-FLAG: _- SERIALNO: 12124-@ |
|||
| ? | 6136-31-4250 | WIRE | 1 | SN: 12124-@ KIT-FLAG: _- SERIALNO: 12124-@ |
|||
| ? | (6134-81-4910) | CAP | 1 | SN: 16235-@ KIT-FLAG: _- SERIALNO: 16235-@ |
