| Номер на схеме | Каталожный номер | Название | Количество | Детали | |||
|---|---|---|---|---|---|---|---|
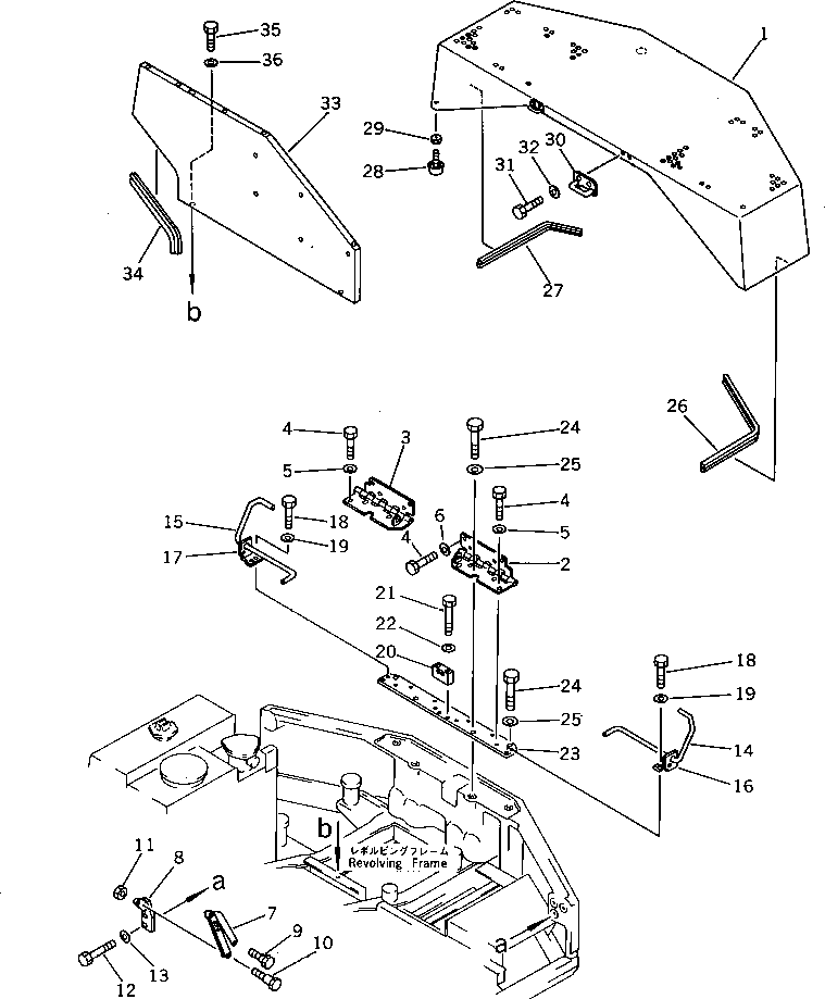
| ? | 20X-54-00200 | MACHINE CAB ASS'Y | 1 | SN: 7501- |
|||
| ? | ☆ | • HOOD | 1 | SN: 7501- |
|||
| ? | 20X-54-21260 | • HINGE,L.H. | 1 | SN: 7501- |
|||
| ? | 20X-54-21270 | • HINGE,R.H. | 1 | SN: 7501- |
|||
| ? | 01010-51025 | • BOLT | 16 | SN: 7501- |
|||
| ? | 144-854-1890 | • WASHER | 8 | SN: 7501- |
|||
| ? | 01643-31032 | • WASHER | 8 | SN: 7501- |
|||
| ? | 20X-54-21220 | • STAY | 1 | SN: 7501- |
|||
| ? | 20X-54-21210 | • BRACKET | 1 | SN: 7501- |
|||
| ? | 20R-54-21450 | • BOLT | 1 | SN: 7501- |
|||
| ? | 20R-54-21440 | • BOLT | 1 | SN: 7501- |
|||
| ? | 01580-11008 | • NUT | 1 | SN: 7501- |
|||
| ? | 01010-51030 | BOLT | 2 | SN: 7501- |
|||
| ? | 01643-31032 | WASHER | 2 | SN: 7501- |
|||
| ? | 20X-54-21140 | BAR,TORSION ? L.H. | 1 | SN: 7501- |
|||
| ? | 20X-54-21150 | BAR,TORSION ? R.H. | 1 | SN: 7501- |
|||
| ? | 20X-54-21161 | BRACKET,L.H. | 1 | SN: 7501- |
|||
| ? | 20X-54-21171 | BRACKET,R.H. | 1 | SN: 7501- |
|||
| ? | 01010-51025 | BOLT | 4 | SN: 7501- |
|||
| ? | 01643-31032 | WASHER | 4 | SN: 7501- |
|||
| ? | 20X-54-21182 | HOLDER | 1 | SN: 7501- |
|||
| ? | 01010-51065 | BOLT | 2 | SN: 7501- |
|||
| ? | 01643-31032 | WASHER | 2 | SN: 7501- |
|||
| ? | 20X-54-21131 | BRACKET | 1 | SN: 7501- |
|||
| ? | 01010-51240 | BOLT | 4 | SN: 7501- |
|||
| ? | 01643-31232 | WASHER | 4 | SN: 7501- |
|||
| ? | 20X-54-21240 | TRIM,L.H. | 1 | SN: 7501- |
|||
| ? | 20X-54-21250 | TRIM,R.H. | 1 | SN: 7501- |
|||
| ? | 201-54-21360 | CUSHION | 2 | SN: 7501- |
|||
| ? | 01580-10504 | NUT | 2 | SN: 7501- |
|||
| ? | 21K-54-26320 | BRACKET | 2 | SN: 7501- |
|||
| ? | 01010-51025 | BOLT | 4 | SN: 7501- |
|||
| ? | 01643-31032 | WASHER | 4 | SN: 7501- |
|||
| ? | 20X-54-21341 | COVER | 1 | SN: 7501- |
|||
| ? | 20X-54-21370 | TRIM | 1 | SN: 7501- |
|||
| ? | 01010-51020 | BOLT | 2 | SN: 7501- |
|||
| ? | 01643-31032 | WASHER | 2 | SN: 7501- |
|||
| ? | 09414-00053 | CAP | 2 | SN: 7501- |
