| Номер на схеме | Каталожный номер | Название | Количество | Детали | |||
|---|---|---|---|---|---|---|---|
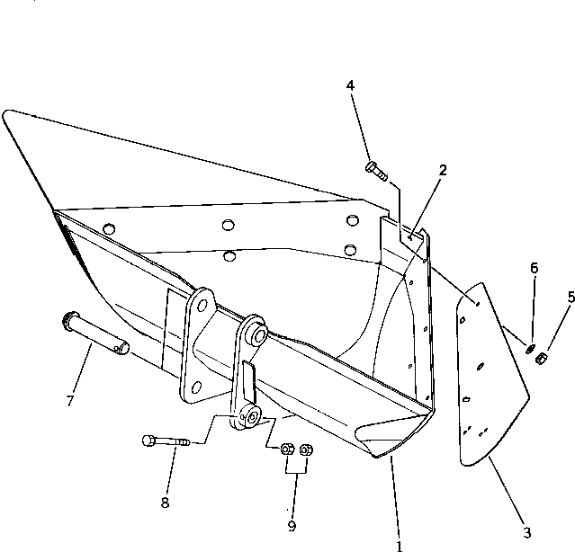
| ? | 201-929-0021 | BUCKET ASS'Y,TRAPEZOIDAL | 1 | SN: 7501- |
|||
| ? | 201-929-2111 | • BUCKET,TRAPEZOIDAL | 1 | SN: 7501- |
|||
| ? | 201-929-2120 | • • LIP (WELDED) | 1 | SN: 7501- |
|||
| ? | 201-929-2130 | • PLATE | 2 | SN: 7501- |
|||
| ? | 01010-51650 | • BOLT | 12 | SN: 7501- |
|||
| ? | 01580-11613 | • NUT | 12 | SN: 7501- |
|||
| ? | 01643-31645 | • WASHER | 12 | SN: 7501- |
|||
| ? | 20X-70-24270 | SHAFT | 2 | SN: 7501- |
|||
| ? | 01011-51630 | BOLT | 2 | SN: 7501- |
|||
| ? | 01580-11613 | NUT | 4 | SN: 7501- |
