| Номер на схеме | Каталожный номер | Название | Количество | Детали | |||
|---|---|---|---|---|---|---|---|
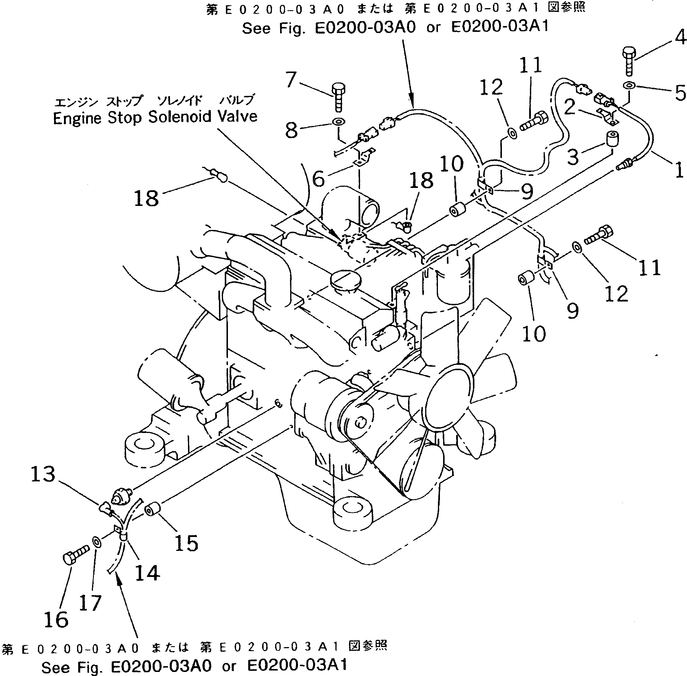
| ? | 7861-92-3320 | SENSOR,ENGINE WATER TEMPERATURE | 1 | SN: 45001-52373 |
|||
| ? | 08053-01512 | CLIP | 1 | SN: 45001-52373 |
|||
| ? | 195-33-11220 | SPACER | 1 | SN: 45001-52373 |
|||
| ? | 01010-51045 | BOLT | 1 | SN: 45001-52373 |
|||
| ? | 01643-31032 | WASHER | 1 | SN: 45001-52373 |
|||
| ? | 201-06-62160 | BRACKET | 1 | SN: 45001-52373 |
|||
| ? | 01010-50610 | BOLT | 1 | SN: 45001-52373 |
|||
| ? | 01602-20619 | WASHER | 1 | SN: 45001-52373 |
|||
| ? | 08036-11214 | CLIP | 2 | SN: 45001-52373 |
|||
| ? | 195-33-11220 | SPACER | 2 | SN: 45001-52373 |
|||
| ? | 01010-51045 | BOLT | 2 | SN: 45001-52373 |
|||
| ? | 01643-31032 | WASHER | 2 | SN: 45001-52373 |
|||
| ? | 08038-00519 | CAP | 1 | SN: 45001-52373 |
|||
| ? | 08036-01414 | CLIP | 1 | SN: 45001-52373 |
|||
| ? | 195-33-11220 | SPACER | 1 | SN: 45001-52373 |
|||
| ? | 01010-51045 | BOLT | 1 | SN: 45001-52373 |
|||
| ? | 01643-31032 | WASHER | 1 | SN: 45001-52373 |
|||
| ? | 08038-00519 | CAP | 2 | SN: 45001-52373 |
