k-part
Номер на схеме Каталожный номер Название Количество Детали
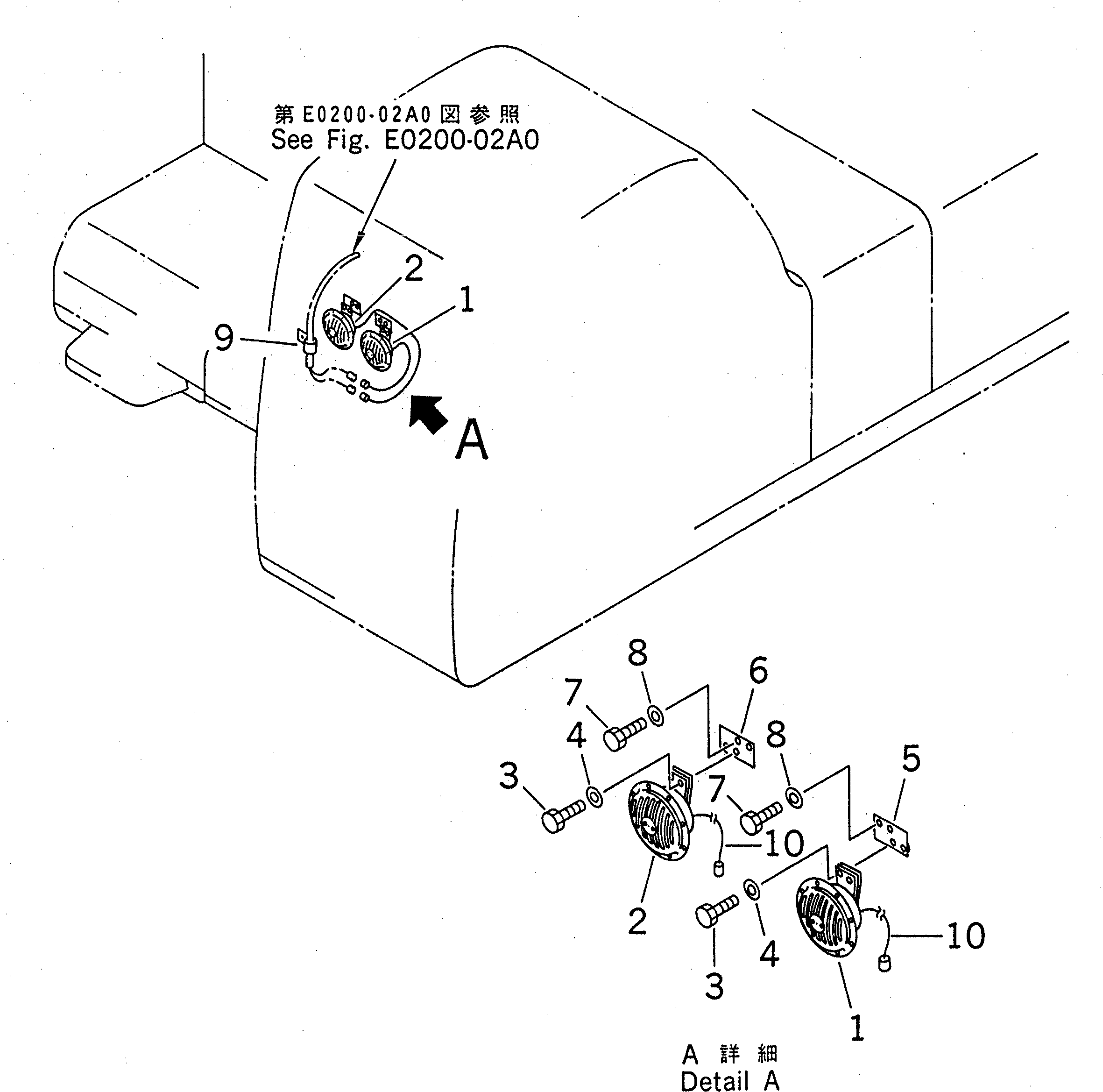
? 20Y-06-12220 HORN 1
SN: 80001-
KIT-FLAG: _-
SERIALNO: 80001-
? 20Y-06-12230 HORN 1
SN: 80001-
KIT-FLAG: _-
SERIALNO: 80001-
? 01010-81025 BOLT 2
SN: 94999-
KIT-FLAG: _-
SERIALNO: 94999-
? 01010-51025 BOLT 2
SN: 80001-94998
KIT-FLAG: _-
SERIALNO: 80001-94998
? 01643-31032 WASHER 2
SN: 80001-
KIT-FLAG: _-
SERIALNO: 80001-
? 20Y-06-12240 BRACKET 1
SN: 80001-
KIT-FLAG: _-
SERIALNO: 80001-
? 20Y-06-12250 BRACKET 1
SN: 80001-
KIT-FLAG: _-
SERIALNO: 80001-
? 01010-80825 BOLT 4
SN: 94999-
KIT-FLAG: _-
SERIALNO: 94999-
? 01010-50825 BOLT 4
SN: 80001-94998
KIT-FLAG: _-
SERIALNO: 80001-94998
? 01643-30823 WASHER 4
SN: 80001-
KIT-FLAG: _-
SERIALNO: 80001-
? 08036-10810 CLIP 1
SN: 80001-
KIT-FLAG: _-
SERIALNO: 80001-
? 20Y-06-12260 WIRE 2
SN: 80001-
KIT-FLAG: _-
SERIALNO: 80001-

Excavators Komatsu / PC200-6H S/N 80001-UP (Hyper GX Spec.)(pc200-6c) / HORN (BIG SOUND)(120410 : E0410-01A0)