| Номер на схеме | Каталожный номер | Название | Количество | Детали | |||
|---|---|---|---|---|---|---|---|
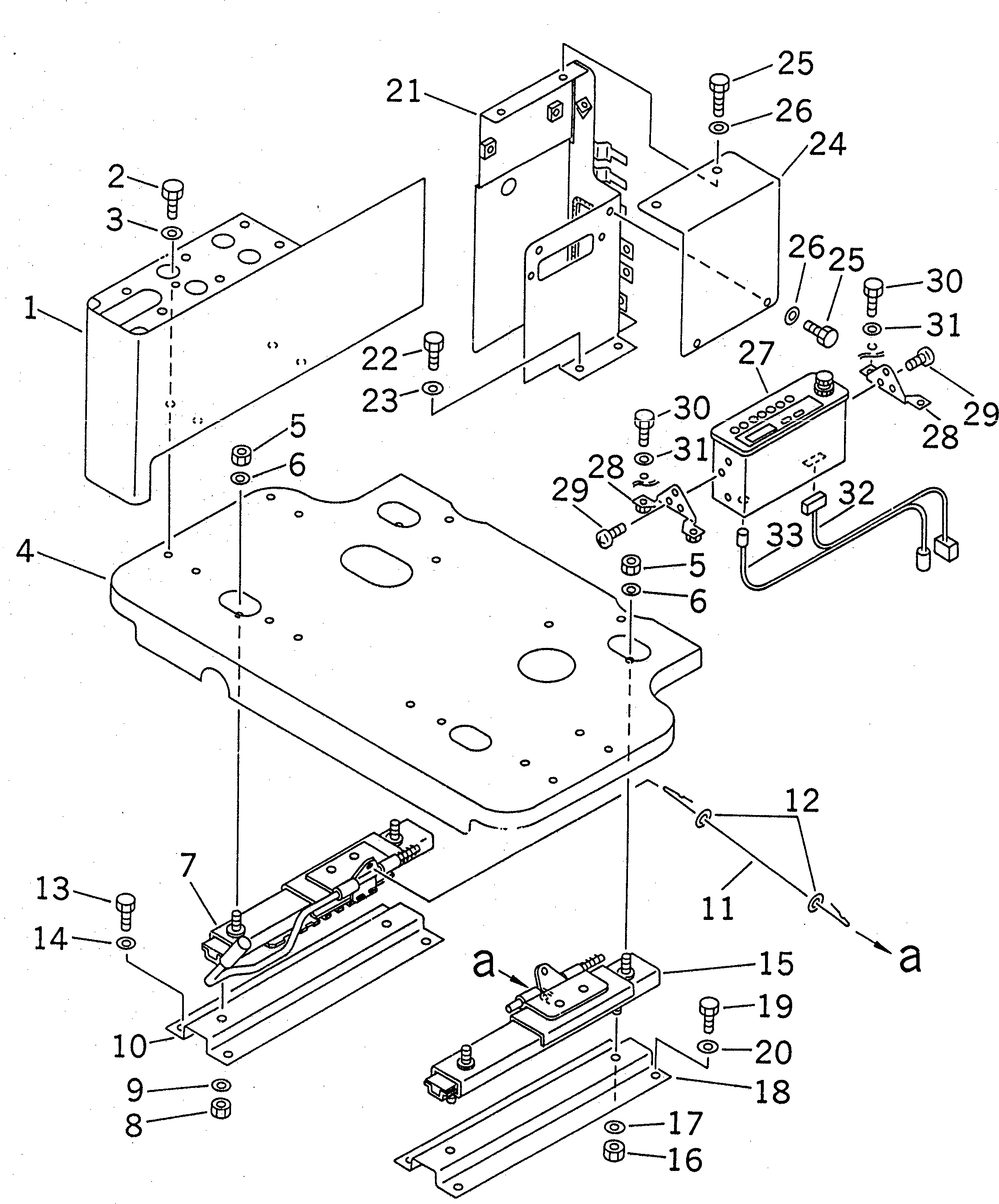
| ? | 20Y-43-21382 | COVER | 1 | SN: 80001-@ KIT-FLAG: _- SERIALNO: 80001-@ |
|||
| ? | 01010-81025 | BOLT | 4 | SN: 96514-@ KIT-FLAG: _- SERIALNO: 96514-@ |
|||
| ? | 01643-31032 | WASHER | 4 | SN: 80001-@ KIT-FLAG: _- SERIALNO: 80001-@ |
|||
| ? | 207-43-61110 | FRAME | 1 | SN: 86930-102228 KIT-FLAG: _- SERIALNO: 86930-102228 |
|||
| ? | 01582-11008 | NUT | 4 | SN: 80001-@ KIT-FLAG: _- SERIALNO: 80001-@ |
|||
| ? | 01643-31032 | WASHER | 4 | SN: 80001-@ KIT-FLAG: _- SERIALNO: 80001-@ |
|||
| ? | 207-43-61140 | ADJUSTER,R.H. | 1 | SN: 95827-102228 KIT-FLAG: _- SERIALNO: 95827-102228 |
|||
| ? | 01582-11008 | NUT | 2 | SN: 80001-@ KIT-FLAG: _- SERIALNO: 80001-@ |
|||
| ? | 01643-31032 | WASHER | 2 | SN: 80001-@ KIT-FLAG: _- SERIALNO: 80001-@ |
|||
| ? | 20Y-43-22320 | PLATE | 1 | SN: 80001-@ KIT-FLAG: _- SERIALNO: 80001-@ |
|||
| ? | 20Y-43-22540 | WIRE | 1 | SN: 80001-@ KIT-FLAG: _- SERIALNO: 80001-@ |
|||
| ? | 01640-20816 | WASHER | 2 | SN: 80001-@ KIT-FLAG: _- SERIALNO: 80001-@ |
|||
| ? | 01010-81025 | BOLT | 4 | SN: 96514-@ KIT-FLAG: _- SERIALNO: 96514-@ |
|||
| ? | 01643-31032 | WASHER | 4 | SN: 80001-@ KIT-FLAG: _- SERIALNO: 80001-@ |
|||
| ? | 207-43-61130 | ADJUSTER,L.H. | 1 | SN: 95827-102228 KIT-FLAG: _- SERIALNO: 95827-102228 |
|||
| ? | 01582-11008 | NUT | 2 | SN: 80001-@ KIT-FLAG: _- SERIALNO: 80001-@ |
|||
| ? | 01643-31032 | WASHER | 2 | SN: 80001-@ KIT-FLAG: _- SERIALNO: 80001-@ |
|||
| ? | 20Y-43-22320 | PLATE | 1 | SN: 80001-@ KIT-FLAG: _- SERIALNO: 80001-@ |
|||
| ? | 01010-81025 | BOLT | 4 | SN: 96514-@ KIT-FLAG: _- SERIALNO: 96514-@ |
|||
| ? | 01643-31032 | WASHER | 4 | SN: 80001-@ KIT-FLAG: _- SERIALNO: 80001-@ |
|||
| ? | 20Y-43-22710 | COVER | 1 | SN: 80001-@ KIT-FLAG: _- SERIALNO: 80001-@ |
|||
| ? | 01010-81225 | BOLT | 3 | SN: 96514-102228 KIT-FLAG: _- SERIALNO: 96514-102228 |
|||
| ? | 01643-31232 | WASHER | 3 | SN: 80001-102228 KIT-FLAG: _- SERIALNO: 80001-102228 |
|||
| ? | 20Y-43-21970 | COVER | 1 | SN: 80001-@ KIT-FLAG: _- SERIALNO: 80001-@ |
|||
| ? | 01010-80816 | BOLT | 4 | SN: 96514-@ KIT-FLAG: _- SERIALNO: 96514-@ |
|||
| ? | 01643-30823 | WASHER | 4 | SN: 80001-@ KIT-FLAG: _- SERIALNO: 80001-@ |
|||
| ? | 20Y-06-22720 | RADIO,(AM) | 1 | SN: 89769-@ KIT-FLAG: _- SERIALNO: 89769-@ |
|||
| ? | 20Y-43-22661 | BRACKET | 2 | SN: 80001-@ KIT-FLAG: _- SERIALNO: 80001-@ |
|||
| ? | 01023-10510 | SCREW | 4 | SN: 80001-@ KIT-FLAG: _- SERIALNO: 80001-@ |
|||
| ? | 01010-80816 | BOLT | 4 | SN: 96514-@ KIT-FLAG: _- SERIALNO: 96514-@ |
|||
| ? | 01643-30823 | WASHER | 4 | SN: 80001-@ KIT-FLAG: _- SERIALNO: 80001-@ |
|||
| ? | 20Y-06-22451 | WIRING HARNESS | 1 | SN: 89769-@ KIT-FLAG: _- SERIALNO: 89769-@ |
|||
| ? | 08912-50900 | CORD | 1 | SN: 82642-@ KIT-FLAG: _- SERIALNO: 82642-@ |
