| Номер на схеме | Каталожный номер | Название | Количество | Детали | |||
|---|---|---|---|---|---|---|---|
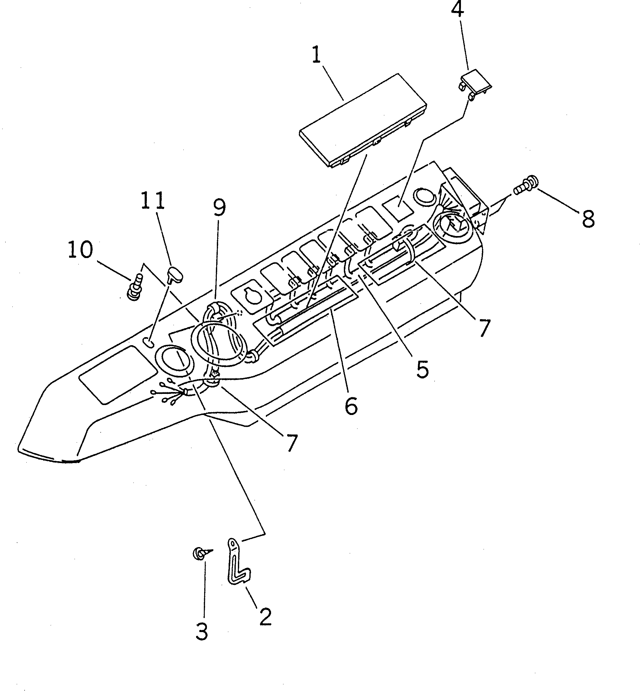
| ? | 20Y-06-24291 | CAP | 1 | SN: 80001-@ KIT-FLAG: _- SERIALNO: 80001-@ |
|||
| ? | 20Y-06-24260 | STAY | 1 | SN: 80001-@ KIT-FLAG: _- SERIALNO: 80001-@ |
|||
| ? | 01370-00512 | SCREW | 1 | SN: 81498-@ KIT-FLAG: _- SERIALNO: 81498-@ |
|||
| ? | 20Y-06-23860 | CAP | 1 | SN: 80001-@ KIT-FLAG: _- SERIALNO: 80001-@ |
|||
| ? | 20Y-06-23880 | WIRING HARNESS | 1 | SN: 80001-@ KIT-FLAG: _- SERIALNO: 80001-@ |
|||
| ? | 20Y-06-23870 | WIRING HARNESS | 1 | SN: 80001-87999 KIT-FLAG: _- SERIALNO: 80001-87999 |
|||
| ? | 08034-20414 | BAND | 2 | SN: 80001-@ KIT-FLAG: _- SERIALNO: 80001-@ |
|||
| ? | 01023-10408 | SCREW | 4 | SN: 80001-@ KIT-FLAG: _- SERIALNO: 80001-@ |
|||
| ? | 20Y-06-23920 | CLAMP | 1 | SN: 80001-@ KIT-FLAG: _- SERIALNO: 80001-@ |
|||
| ? | 01023-10408 | SCREW | 1 | SN: 80001-@ KIT-FLAG: _- SERIALNO: 80001-@ |
|||
| ? | 20Y-06-23780 | CAP | 3 | SN: 80001-@ KIT-FLAG: _- SERIALNO: 80001-@ |
