| Номер на схеме | Каталожный номер | Название | Количество | Детали | |||
|---|---|---|---|---|---|---|---|
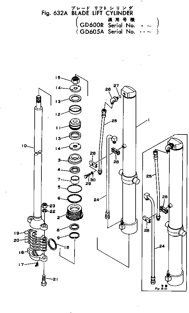
| ? | 232-63-13101 | CYLINDER ASS'Y,L.H. | 1 | SN: .- KIT-FLAG: _- SERIALNO: .- |
|||
| ? | 232-63-13201 | CYLINDER ASS'Y,R.H. | 1 | SN: .- KIT-FLAG: _- SERIALNO: .- |
|||
| ? | 232-63-13140 | • CYLINDER,L.H. | 1 | SN: 10002- KIT-FLAG: _- SERIALNO: 10002- |
|||
| ? | 232-63-13140 | • CYLINDER,R.H. | 1 | SN: 10002- KIT-FLAG: _- SERIALNO: 10002- |
|||
| ? | 232-63-13130 | • HEAD | 1 | SN: 10002- KIT-FLAG: _- SERIALNO: 10002- |
|||
| ? | 232-63-13230 | • RETAINER | 1 | SN: 10002- KIT-FLAG: _- SERIALNO: 10002- |
|||
| ? | 236-63-62173 | • PACKING | 1 | SN: 10002- KIT-FLAG: _- SERIALNO: 10002- |
|||
| ? | 07000-12095 | • O-RING | 1 | SN: 10002- KIT-FLAG: _- SERIALNO: 10002- |
|||
| ? | 07001-02095 | • RING | 1 | SN: 10002- KIT-FLAG: _- SERIALNO: 10002- |
|||
| ? | 07177-05030 | • BUSHING | 1 | SN: 10002- KIT-FLAG: _- SERIALNO: 10002- |
|||
| ? | 07016-00507 | • SEAL | 1 | SN: 10002- KIT-FLAG: _- SERIALNO: 10002- |
|||
| ? | 07179-00069 | • RING | 1 | SN: 10002- KIT-FLAG: _- SERIALNO: 10002- |
|||
| ? | 232-63-13120 | • ROD | 1 | SN: 10002- KIT-FLAG: _- SERIALNO: 10002- |
|||
| ? | 10E-63-56170 | • PISTON | 1 | SN: 10002- KIT-FLAG: _- SERIALNO: 10002- |
|||
| ? | 07155-00820 | • RING | 1 | SN: 10002- KIT-FLAG: _- SERIALNO: 10002- |
|||
| ? | 20R-63-56280 | • U-PACKING | 2 | SN: 10002- KIT-FLAG: _- SERIALNO: 10002- |
|||
| ? | 111-63-99330 | • RETAINER | 2 | SN: 10002- KIT-FLAG: _- SERIALNO: 10002- |
|||
| ? | 07165-13033 | • NUT | 1 | SN: 10002- KIT-FLAG: _- SERIALNO: 10002- |
|||
| ? | 07138-00980 | • CAP | 1 | SN: 10002- KIT-FLAG: _- SERIALNO: 10002- |
|||
| ? | 07020-00900 | • FITTING | 1 | SN: 10002- KIT-FLAG: _- SERIALNO: 10002- |
|||
| ? | 07141-00090 | • SEAL | 1 | SN: 10002- KIT-FLAG: _- SERIALNO: 10002- |
|||
| ? | 07139-00905 | • SHIM, 0.5MM | 2 | SN: 10002- KIT-FLAG: _- SERIALNO: 10002- |
|||
| ? | 07139-00902 | • SHIM, 0.2MM | 3 | SN: 10002- KIT-FLAG: _- SERIALNO: 10002- |
|||
| ? | 01010-52075 | • BOLT | 2 | SN: 10002- KIT-FLAG: _- SERIALNO: 10002- |
|||
| ? | 01602-22060 | • WASHER | 2 | SN: 10002- KIT-FLAG: _- SERIALNO: 10002- |
|||
| ? | 01580-12016 | • NUT | 2 | SN: 10002- KIT-FLAG: _- SERIALNO: 10002- |
|||
| ? | 232-63-13180 | • TUBE | 1 | SN: 10002- KIT-FLAG: _- SERIALNO: 10002- |
|||
| ? | 232-63-13190 | • TUBE | 1 | SN: 10002- KIT-FLAG: _- SERIALNO: 10002- |
|||
| ? | 07235-10422 | • ELBOW | 1 | SN: 10002- KIT-FLAG: _- SERIALNO: 10002- |
|||
| ? | 07002-12034 | • O-RING | 1 | SN: 10002- KIT-FLAG: _- SERIALNO: 10002- |
|||
| ? | 237-60-14130 | • CLIP | 2 | SN: 10002- KIT-FLAG: _- SERIALNO: 10002- |
|||
| ? | 01010-51045 | • BOLT | 1 | SN: 10002- KIT-FLAG: _- SERIALNO: 10002- |
|||
| ? | 01602-21030 | • WASHER | 1 | SN: 10002- KIT-FLAG: _- SERIALNO: 10002- |
