| Номер на схеме | Каталожный номер | Название | Количество | Детали | |||
|---|---|---|---|---|---|---|---|
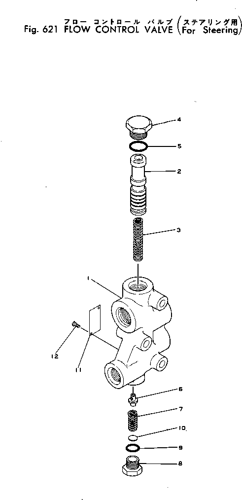
| ? | 232-60-00330 | VALVE ASS'Y | 1 | SN: 10002- KIT-FLAG: _- SERIALNO: 10002- |
|||
| ? | 232-60-00370 | • BODY ASS'Y | 1 | SN: 10002- KIT-FLAG: _- SERIALNO: 10002- |
|||
| ? | ☆ | • • BODY | 1 | SN: 10002- KIT-FLAG: _- SERIALNO: 10002- |
|||
| ? | ☆ | • • SPOOL | 1 | SN: 10002- KIT-FLAG: _- SERIALNO: 10002- |
|||
| ? | 232-60-57130 | • SPRING | 1 | SN: 10002- KIT-FLAG: _- SERIALNO: 10002- |
|||
| ? | 232-60-57140 | • PLUG | 1 | SN: 10002- KIT-FLAG: _- SERIALNO: 10002- |
|||
| ? | 232-60-57150 | • O-RING | 1 | SN: 10002- KIT-FLAG: _- SERIALNO: 10002- |
|||
| ? | 232-60-57160 | • POPPET | 1 | SN: 10002- KIT-FLAG: _- SERIALNO: 10002- |
|||
| ? | 232-60-57170 | • SPRING | 1 | SN: 10002- KIT-FLAG: _- SERIALNO: 10002- |
|||
| ? | 232-60-57180 | • PLUG | 1 | SN: 10002- KIT-FLAG: _- SERIALNO: 10002- |
|||
| ? | 232-60-57190 | • O-RING | 1 | SN: 10002- KIT-FLAG: _- SERIALNO: 10002- |
|||
| ? | 232-60-57210 | • SHIM | A/R | SN: 10002- KIT-FLAG: _- SERIALNO: 10002- |
|||
| ? | 232-60-57220 | • PLATE | 1 | SN: 10002- KIT-FLAG: _- SERIALNO: 10002- |
|||
| ? | 232-60-57230 | • SCREW | 2 | SN: 10002- KIT-FLAG: _- SERIALNO: 10002- |
