| Номер на схеме | Каталожный номер | Название | Количество | Детали | |||
|---|---|---|---|---|---|---|---|
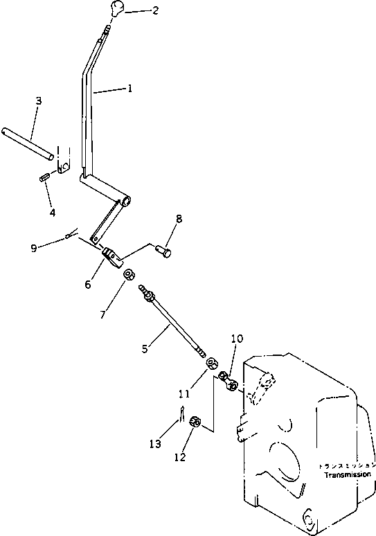
| ? | 262-43-56110 | LEVER | 1 | SN: 10001- |
|||
| ? | 234-885-1610 | • BUSHING | 2 | SN: 10001- |
|||
| ? | (262-06-21640) | SWITCH,HIGH-LOW GEAR (SEE FIG.1506) | 1 | SN: 10001- |
|||
| ? | 262-43-26120 | SHAFT | 1 | SN: 10001- |
|||
| ? | 04025-00532 | PIN,SPRING | 1 | SN: 10001- |
|||
| ? | 04248-31656 | ROD | 1 | SN: 10001- |
|||
| ? | 262-43-56120 | YOKE,L.H. THREAD | 1 | SN: 10001- |
|||
| ? | 01508-41610 | NUT,L.H. THREAD | 1 | SN: 10001- |
|||
| ? | 04205-11442 | PIN | 1 | SN: 10001- |
|||
| ? | 04050-14028 | PIN,COTTER | 1 | SN: 10001- |
|||
| ? | 04250-61683 | END,ROD | 1 | SN: 10001- |
|||
| ? | 01582-11613 | NUT | 1 | SN: 10001- |
|||
| ? | 01593-11613 | NUT | 1 | SN: 10001- |
|||
| ? | 04050-14025 | PIN,COTTER | 1 | SN: 10001- |
