k-part
Номер на схеме Каталожный номер Название Количество Детали
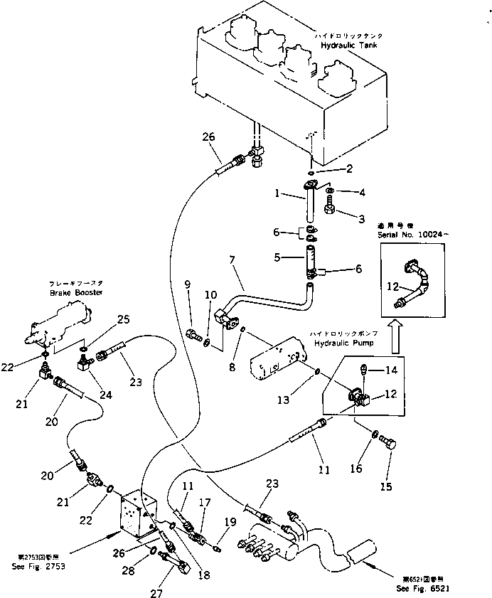
? 262-40-23110 TUBE 1
SN: 10001-
? 07000-13028 O-RING 1
SN: 10001-
? 01010-51030 BOLT 2
SN: 10001-
? 01643-31032 WASHER 2
SN: 10001-
? 07260-02618 HOSE 1
SN: 10001-
? 07281-00489 CLAMP 4
SN: 10001-
? 262-60-55210 TUBE 1
SN: 10001-
? 07000-13032 O-RING 1
SN: 10001-
? 01010-51025 BOLT 4
SN: 10001-
? 01643-31032 WASHER 4
SN: 10001-
? 07108-20514 HOSE 1
SN: 10024-
? 07108-20516 HOSE 1
SN: 10001-10023
? 262-60-55331 ELBOW 1
SN: 10024-
? 262-60-55330 ELBOW 1
SN: 10001-10023
? 07000-13025 O-RING 1
SN: 10001-
? 07042-20108 PLUG 1
SN: 10001-10023
? 01010-50830 BOLT 4
SN: 10001-
? 01643-30823 WASHER 4
SN: 10001-
? 07235-50522 ELBOW 1
SN: 10001-
? 07002-12434 O-RING 1
SN: 10001-
? 07042-20108 PLUG 1
SN: 10001-
? 07108-20511 HOSE 1
SN: 10001-
? 234-60-35130 ELBOW 2
SN: 10001-
? 07002-12434 O-RING 2
SN: 10001-
? 07102-20508 HOSE 1
SN: 10001-
? 07235-10522 ELBOW 1
SN: 10001-
? 07002-12434 O-RING 1
SN: 10001-
? 07102-20418 HOSE 1
SN: 10001-
? 234-60-33850 TUBE 1
SN: 10001-
? 07002-12034 O-RING 1
SN: 10001-

Road Cutters Komatsu / GC380F-1 S/N 10001-UP(gc380f0r) / STEERING PIPING (1/5)(060280 : 2751)