| Номер на схеме | Каталожный номер | Название | Количество | Детали | |||
|---|---|---|---|---|---|---|---|
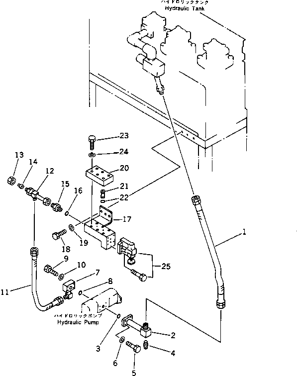
| ? | 07102-21209 | HOSE | 1 | SN: 10001- |
|||
| ? | 262-60-59120 | TUBE | 1 | SN: 10001- |
|||
| ? | 07000-13032 | O-RING | 1 | SN: 10001- |
|||
| ? | 07042-20108 | PLUG | 1 | SN: 10001- |
|||
| ? | 02010-70632 | BOLT | 4 | SN: 10001- |
|||
| ? | 01643-31032 | WASHER | 4 | SN: 10001- |
|||
| ? | 262-60-59140 | TUBE | 1 | SN: 10001- |
|||
| ? | 07000-13025 | O-RING | 1 | SN: 10001- |
|||
| ? | 02010-70651 | BOLT | 4 | SN: 10001- |
|||
| ? | 01643-31032 | WASHER | 4 | SN: 10001- |
|||
| ? | 07113-00508 | HOSE | 1 | SN: 10001- |
|||
| ? | 262-60-59160 | TUBE | 1 | SN: 10001- |
|||
| ? | 07221-20422 | NUT | 1 | SN: 10001- |
|||
| ? | 07222-00414 | PLUG | 1 | SN: 10001- |
|||
| ? | 07230-20522 | UNION | 1 | SN: 10001- |
|||
| ? | 07002-12434 | O-RING | 1 | SN: 10001- |
|||
| ? | 262-60-59170 | BLOCK | 1 | SN: 10001- |
|||
| ? | 01010-51235 | BOLT | 3 | SN: 10001- |
|||
| ? | 01643-31232 | WASHER | 3 | SN: 10001- |
|||
| ? | 262-60-59180 | BLOCK | 1 | SN: 10001- |
|||
| ? | 262-61-21210 | VALVE ASS'Y,CHECK | 2 | SN: 10001- |
|||
| ? | 07000-13030 | O-RING | 2 | SN: 10001- |
|||
| ? | 01010-51265 | BOLT | 6 | SN: 10001- |
|||
| ? | 01643-31232 | WASHER | 6 | SN: 10001- |
|||
| ? | 262-60-51900 | VALVE ASS'Y,RELIEF | 1 | SN: 10001- |
