k-part
Номер на схеме Каталожный номер Название Количество Детали
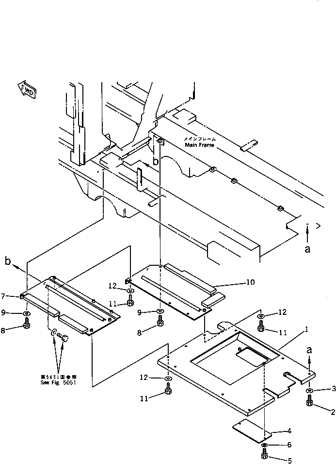
? 262-54-52321 COVER 1
SN: 10001-
? 01010-51016 BOLT 6
SN: 10001-
? 234-54-13252 WASHER 6
SN: 10001-
? 262-54-52330 COVER 1
SN: 10001-
? 01010-51016 BOLT 2
SN: 10001-
? 01643-31032 WASHER 2
SN: 10001-
? 262-54-52820 COVER,L.H. 1
SN: 10001-
? 01010-51025 BOLT 3
SN: 10001-
? 234-54-13252 WASHER 3
SN: 10001-
? 262-54-52830 COVER,R.H. 1
SN: 10001-
? 01010-51025 BOLT 7
SN: 10001-
? 234-54-13252 WASHER 7
SN: 10001-

Road Cutters Komatsu / GC380F-1 S/N 10001-UP(gc380f0r) / UNDER COVER(150100 : 5041)