| Номер на схеме | Каталожный номер | Название | Количество | Детали | |||
|---|---|---|---|---|---|---|---|
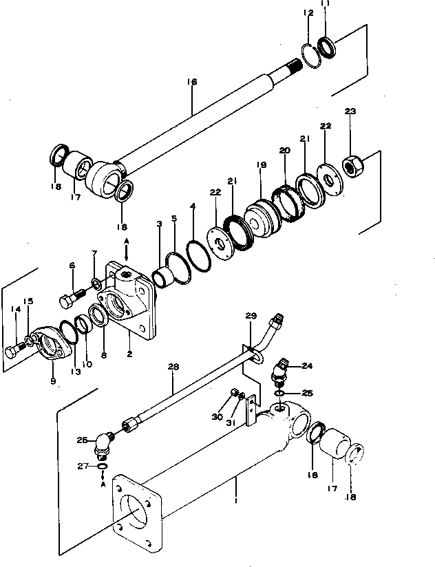
| ? | 236-63-32100 | CYLINDER ASS'Y | 1 | SN: 1003-1500 |
|||
| ? | 236-63-32140 | • CYLINDER | 1 | SN: 1003-1500 |
|||
| ? | 233-63-32130 | • HEAD | 1 | SN: 1003-1500 |
|||
| ? | 07177-04025 | • BUSHING | 1 | SN: 1003-1500 |
|||
| ? | 07000-12075 | • O-RING | 1 | SN: 1003-1500 |
|||
| ? | 07146-02076 | • RING | 1 | SN: 1003-1500 |
|||
| ? | 01010-51645 | • BOLT | 4 | SN: 1003-1500 |
|||
| ? | 01602-21648 | • WASHER | 4 | SN: 1003-1500 |
|||
| ? | 236-63-11173 | • PACKING | 1 | SN: 1003-1500 |
|||
| ? | (☒236-63-11171) | • U-PACKING | 1 | SN: (1003-1022) |
|||
| ? | 07178-04035 | • GLAND | 1 | SN: 1003-1500 |
|||
| ? | 07177-04012 | • BUSHING | 1 | SN: 1003-1500 |
|||
| ? | 07016-00407 | • SEAL | 1 | SN: 1003-1500 |
|||
| ? | 07179-00059 | • RING | 1 | SN: 1003-1500 |
|||
| ? | 07000-03055 | • O-RING | 1 | SN: 1003-1500 |
|||
| ? | 01010-51240 | • BOLT | 2 | SN: 1003-1500 |
|||
| ? | 01602-21236 | • WASHER | 2 | SN: 1003-1500 |
|||
| ? | 236-63-32120 | • ROD | 1 | SN: 1003-1500 |
|||
| ? | 07143-20404 | • BUSHING | 2 | SN: 1003-1500 |
|||
| ? | 07145-00040 | • SEAL | 4 | SN: 1003-1500 |
|||
| ? | 07150-00827 | • PISTON | 1 | SN: 1003-1500 |
|||
| ? | 07155-00820 | • RING | 1 | SN: 1003-1500 |
|||
| ? | 111-63-99151 | • U-PACKING | 2 | SN: 1003-1500 |
|||
| ? | (☒111-63-99150) | • U-PACKING | 2 | SN: (1003-1022) |
|||
| ? | 233-63-32170 | • RETAINER | 2 | SN: 1003-1500 |
|||
| ? | 07165-12729 | • NUT | 1 | SN: 1023-1500 |
|||
| ? | □232-63-12681 | • NUT | 1 | SN: 1003-1022 |
|||
| ? | 07236-10315 | • ELBOW | 1 | SN: 1003-1500 |
|||
| ? | 07002-12034 | • O-RING | 1 | SN: 1003-1500 |
|||
| ? | 07235-10315 | • ELBOW | 1 | SN: 1003-1500 |
|||
| ? | 07002-12034 | • O-RING | 1 | SN: 1003-1500 |
|||
| ? | 236-63-32190 | • TUBE | 1 | SN: 1003-1500 |
|||
| ? | 07283-11529 | • CLIP | 1 | SN: 1003-1500 |
|||
| ? | 01598-00809 | • NUT | 2 | SN: 1003-1500 |
|||
| ? | 01643-20823 | • WASHER | 2 | SN: 1003-1500 |
