| Номер на схеме | Каталожный номер | Название | Количество | Детали | |||
|---|---|---|---|---|---|---|---|
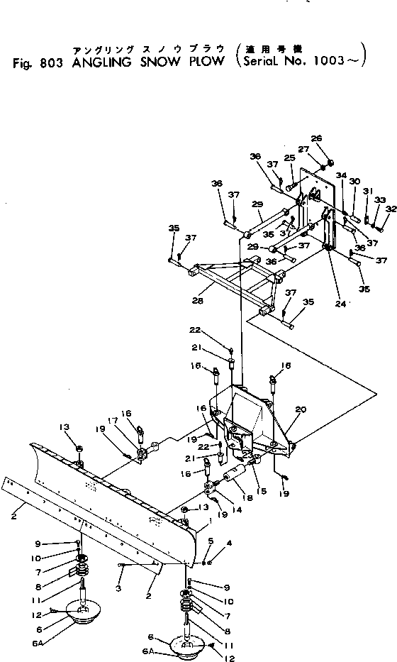
| ? | 236-979-0010 | PLOW ASS'Y | 1 | SN: 1003-1500 |
|||
| ? | 236-979-1110 | • PLOW | 1 | SN: 1003-1500 |
|||
| ? | 236-978-1151 | • EDGE | 2 | SN: 1003-1500 |
|||
| ? | 02090-11050 | • BOLT | 14 | SN: 1003-1500 |
|||
| ? | 02290-11016 | • NUT | 14 | SN: 1003-1500 |
|||
| ? | 01602-21648 | • WASHER | 14 | SN: 1003-1500 |
|||
| ? | 236-970-0021 | • SLED ASS'Y | 2 | SN: 1003-1500 |
|||
| ? | 236-970-2431 | • • SLED | 1 | SN: 1003-1500 |
|||
| ? | 236-970-2560 | • • • PLATE (WELDED) | 1 | SN: 1003-1500 |
|||
| ? | 236-970-2451 | • • COVER | 1 | SN: 1003-1500 |
|||
| ? | 236-970-2460 | • • SHIM | 5 | SN: 1003-1500 |
|||
| ? | 01010-51025 | • • BOLT | 4 | SN: 1003-1500 |
|||
| ? | 01602-21030 | • • WASHER | 4 | SN: 1003-1500 |
|||
| ? | 236-970-2471 | • • SHAFT | 1 | SN: 1003-1500 |
|||
| ? | 07020-00675 | • • FITTING | 1 | SN: 1003-1500 |
|||
| ? | 01580-13024 | • • NUT | 2 | SN: 1003-1500 |
|||
| ? | 236-979-1140 | • YOKE | 1 | SN: 1003-1500 |
|||
| ? | 236-979-1150 | • ROD | 1 | SN: 1003-1500 |
|||
| ? | 236-979-1160 | • PIN | 4 | SN: 1003-1500 |
|||
| ? | 236-979-1120 | • ARM | 1 | SN: 1003-1500 |
|||
| ? | 236-979-1130 | • ROD | 1 | SN: 1003-1500 |
|||
| ? | 232-979-3161 | • PIN | 4 | SN: 1003-1500 |
|||
| ? | 236-979-0020 | SUPPORT ASS'Y | 1 | SN: 1003-1500 |
|||
| ? | 236-979-1310 | • BRACKET | 1 | SN: 1003-1500 |
|||
| ? | 236-979-1170 | • PIN | 2 | SN: 1003-1500 |
|||
| ? | 07020-00675 | • FITTING | 2 | SN: 1003-1500 |
|||
| ? | 232-979-3161 | • PIN | 2 | SN: 1003-1500 |
|||
| ? | 236-979-1320 | • BRACKET | 1 | SN: 1003-1500 |
|||
| ? | 01010-52080 | • BOLT | 8 | SN: 1003-1500 |
|||
| ? | 01580-12018 | • NUT | 8 | SN: 1003-1500 |
|||
| ? | 01602-22060 | • WASHER | 8 | SN: 1003-1500 |
|||
| ? | 236-979-1330 | • SUPPORT | 1 | SN: 1003-1500 |
|||
| ? | 236-70-23141 | • ARM | 2 | SN: 1003-1500 |
|||
| ? | 236-70-23150 | • PIN | 2 | SN: 1003-1500 |
|||
| ? | 04082-00206 | • LOCK | 2 | SN: 1003-1500 |
|||
| ? | 01010-51225 | • BOLT | 4 | SN: 1003-1500 |
|||
| ? | 01602-21236 | • WASHER | 4 | SN: 1003-1500 |
|||
| ? | 07020-00000 | • FITTING | 2 | SN: 1003-1500 |
|||
| ? | 236-70-23160 | • PIN | 4 | SN: 1003-1500 |
|||
| ? | 236-70-23170 | • PIN | 4 | SN: 1003-1500 |
|||
| ? | 236-70-23180 | • PIN | 8 | SN: 1003-1500 |
