| Номер на схеме | Каталожный номер | Название | Количество | Детали | |||
|---|---|---|---|---|---|---|---|
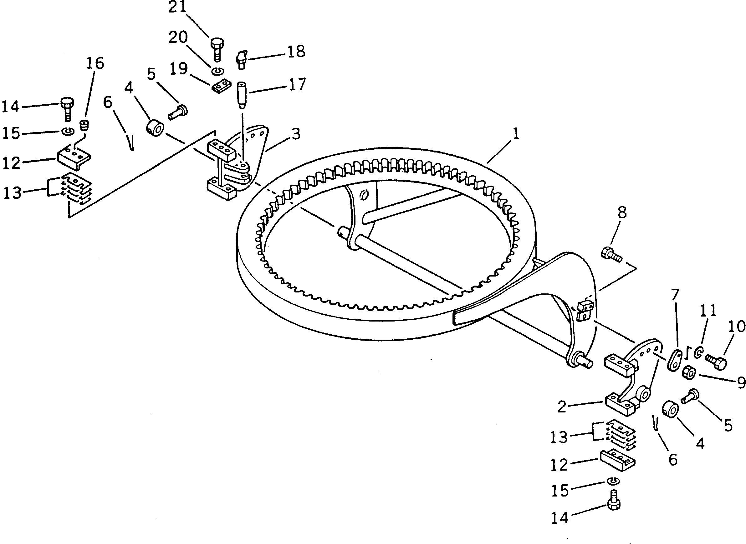
| ? | 237-70-00101 | SUPPORT ASS'Y | 1 | SN: 2001- |
|||
| ? | 237-70-12210 | • SUPPORT | 1 | SN: 2001- |
|||
| ? | 237-70-12220 | • ADJUSTER,L.H. | 1 | SN: 2001- |
|||
| ? | 237-70-12230 | • ADJUSTER,R.H. | 1 | SN: 2001- |
|||
| ? | 232-70-12350 | • COLLAR | 2 | SN: 2001- |
|||
| ? | 232-70-12360 | • PIN | 2 | SN: 2001- |
|||
| ? | 04050-14022 | • PIN,COTTER | 2 | SN: 2001- |
|||
| ? | 232-70-12381 | • LOCK | 2 | SN: 2001- |
|||
| ? | 01010-32480 | • BOLT | 2 | SN: 2001- |
|||
| ? | 01580-02419 | • NUT | 2 | SN: 2001- |
|||
| ? | 01010-31230 | • BOLT | 2 | SN: 2001- |
|||
| ? | 01602-01236 | • WASHER,SPRING | 2 | SN: 2001- |
|||
| ? | 237-70-12240 | • GUIDE | 4 | SN: 2001- |
|||
| ? | 237-70-00110 | • SHIM ASS'Y | 2 | SN: 2001- |
|||
| ? | ☆ | • • SHIM¤ 0.5MM | 4 | SN: 2001- |
|||
| ? | ☆ | • • SHIM¤ 1.0MM | 3 | SN: 2001- |
|||
| ? | 01010-32060 | • BOLT | 12 | SN: 2001- |
|||
| ? | 01602-02060 | • WASHER,SPRING | 12 | SN: 2001- |
|||
| ? | 07048-01210 | • PLUG | 4 | SN: 2001- |
|||
| ? | 237-70-15130 | • PIN | 1 | SN: 2001- |
|||
| ? | 07020-00675 | • FITTING,GREASE | 1 | SN: 2001- |
|||
| ? | 04082-00110 | • LOCK | 1 | SN: 2001- |
|||
| ? | 01010-31020 | • BOLT | 2 | SN: 2001- |
|||
| ? | 01602-01030 | • WASHER,SPRING | 2 | SN: 2001- |
