| Номер на схеме | Каталожный номер | Название | Количество | Детали | |||
|---|---|---|---|---|---|---|---|
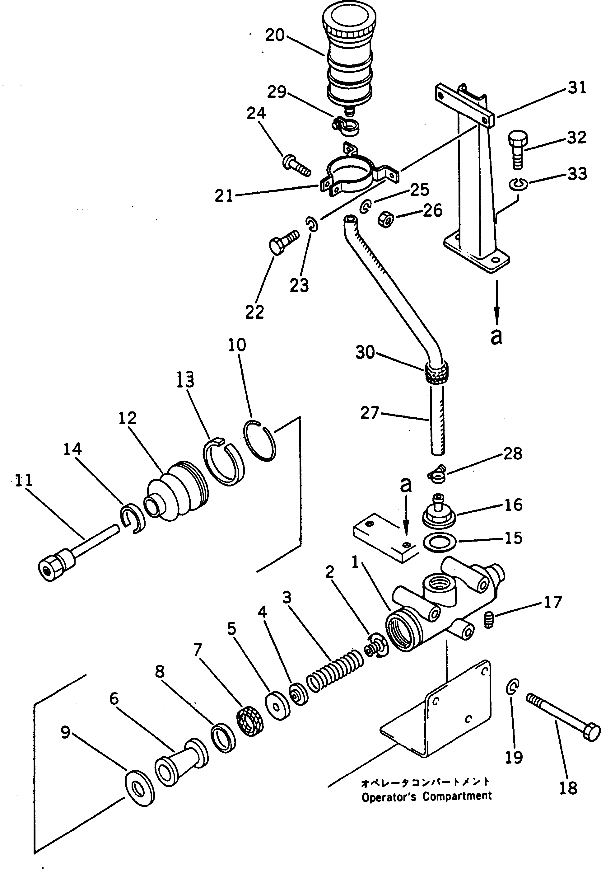
| ? | 232-43-13102 | MASTER CYLINDER A. | 1 | SN: 2001- |
|||
| ? | 232-43-13211 | • CYLINDER | 1 | SN: 2001- |
|||
| ? | 232-43-13230 | • VALVE (KIT) | 1 | SN: 2001- |
|||
| ? | 232-43-13240 | • SPRING | 1 | SN: 2001- |
|||
| ? | 232-43-13250 | • RETAINER | 1 | SN: 2001- |
|||
| ? | 232-43-13260 | • CUP | 1 | SN: 2001- |
|||
| ? | 232-43-00111 | • PISTON ASS'Y (KIT) | 1 | SN: 2001- |
|||
| ? | ☆ | • • PISTON | 1 | SN: 2001- |
|||
| ? | ☆ | • • CUP | 1 | SN: 2001- |
|||
| ? | ☆ | • • RING,PISTON | 1 | SN: 2001- |
|||
| ? | 232-43-13310 | • STOPPER | 1 | SN: 2001- |
|||
| ? | 232-43-13320 | • WIRE,STOP | 1 | SN: 2001- |
|||
| ? | 232-43-13332 | • ROD,PUSH | 1 | SN: 2001- |
|||
| ? | 232-43-13340 | • BOOT (KIT) | 1 | SN: 2001- |
|||
| ? | 232-43-13360 | • CLAMP | 1 | SN: 2001- |
|||
| ? | 232-43-13350 | • CLAMP | 1 | SN: 2001- |
|||
| ? | 232-43-13390 | • GASKET (KIT) | 1 | SN: 2001- |
|||
| ? | 232-43-13381 | • CONNECTOR | 1 | SN: 2001- |
|||
| ? | 07042-00108 | • PLUG | 1 | SN: 2001- |
|||
| ? | 01010-31095 | BOLT | 3 | SN: 2001- |
|||
| ? | 01602-01030 | WASHER,SPRING | 3 | SN: 2001- |
|||
| ? | 232-43-13600 | RESERVOIR ASS'Y | 1 | SN: 2001- |
|||
| ? | 232-43-13440 | BRACKET | 1 | SN: 2001- |
|||
| ? | 01010-30812 | BOLT | 2 | SN: 2001- |
|||
| ? | 01602-00825 | WASHER,SPRING | 2 | SN: 2001- |
|||
| ? | 01220-40530 | SCREW | 1 | SN: 2001- |
|||
| ? | 01601-00513 | WASHER,SPRING | 1 | SN: 2001- |
|||
| ? | 01580-00504 | NUT | 1 | SN: 2001- |
|||
| ? | 237-43-13160 | TUBE | 1 | SN: 2001- |
|||
| ? | 232-43-13450 | CLAMP | 1 | SN: 2001- |
|||
| ? | 236-04-21190 | CLIP | 1 | SN: 2001- |
|||
| ? | 08037-01610 | GROMMET | 1 | SN: 2001- |
|||
| ? | 237-43-13150 | BRACKET | 1 | SN: 2001- |
|||
| ? | 01010-31020 | BOLT | 2 | SN: 2001- |
|||
| ? | 01602-01030 | WASHER,SPRING | 2 | SN: 2001- |
