| Номер на схеме | Каталожный номер | Название | Количество | Детали | |||
|---|---|---|---|---|---|---|---|
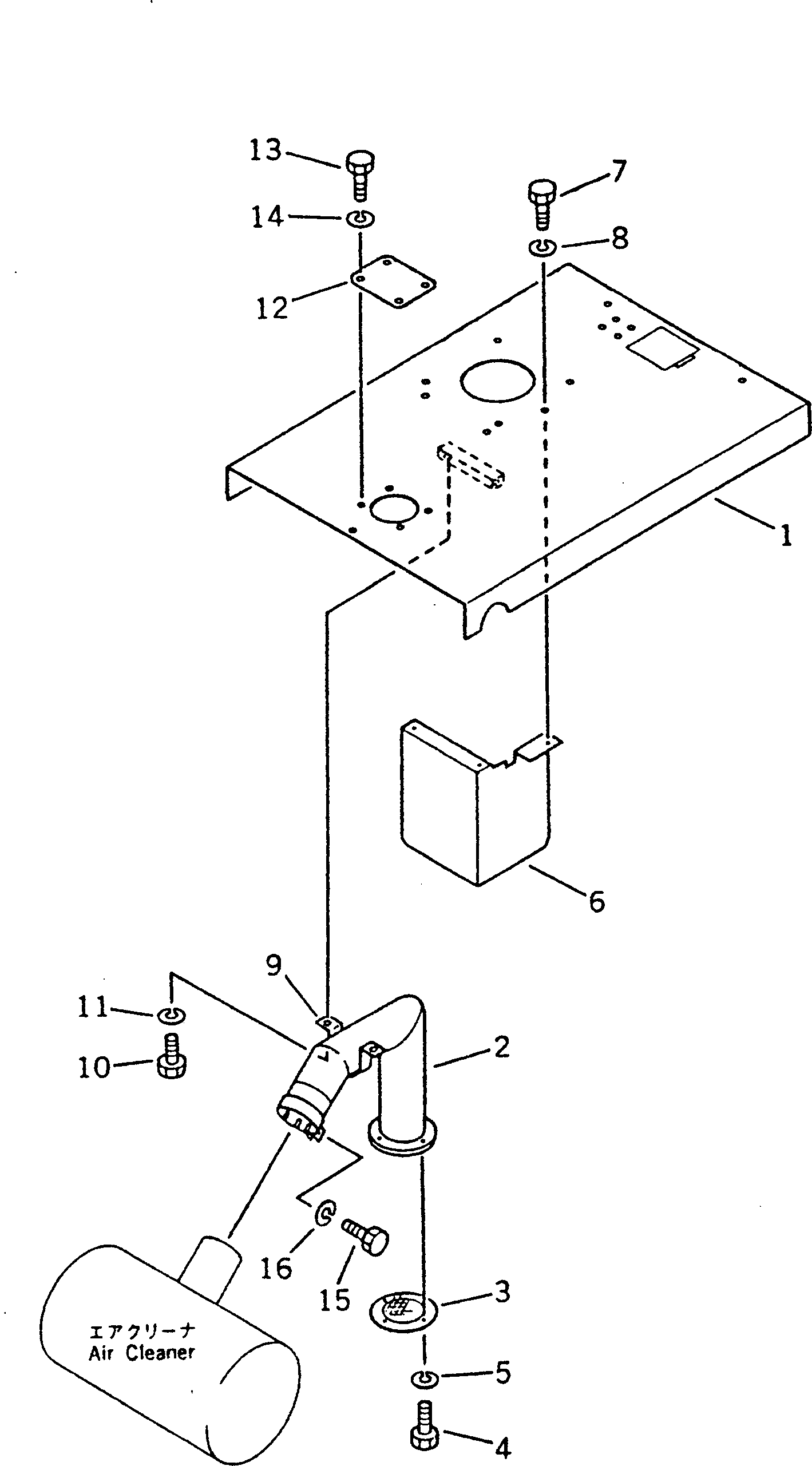
| ? | 237-802-1210 | HOOD,(MODIFIED PART) | 1 | SN: 2127- |
|||
| ? | 237-802-1220 | PIPE,EXTENSION | 1 | SN: 2127- |
|||
| ? | 237-802-1240 | COVER | 1 | SN: 2127- |
|||
| ? | 01220-40608 | SCREW | 4 | SN: 2127- |
|||
| ? | 01602-20619 | WASHER,SPRING | 4 | SN: 2127- |
|||
| ? | 237-802-1230 | COVER | 1 | SN: 2127- |
|||
| ? | 01010-51020 | BOLT | 3 | SN: 2127- |
|||
| ? | 01602-21030 | WASHER,SPRING | 3 | SN: 2127- |
|||
| ? | 237-802-1260 | BAND | 1 | SN: 2127- |
|||
| ? | 01010-51020 | BOLT | 2 | SN: 2127- |
|||
| ? | 01602-21030 | WASHER,SPRING | 2 | SN: 2127- |
|||
| ? | 237-802-1250 | COVER | 1 | SN: 2127- |
|||
| ? | 01010-51020 | BOLT | 4 | SN: 2127- |
|||
| ? | 01602-21030 | WASHER,SPRING | 4 | SN: 2127- |
|||
| ? | 01010-50840 | BOLT | 1 | SN: .- |
|||
| ? | □01010-50820 | BOLT | 1 | SN: 2127-. |
|||
| ? | 01602-20825 | WASHER,SPRING | 1 | SN: 2127- |
