| Номер на схеме | Каталожный номер | Название | Количество | Детали | |||
|---|---|---|---|---|---|---|---|
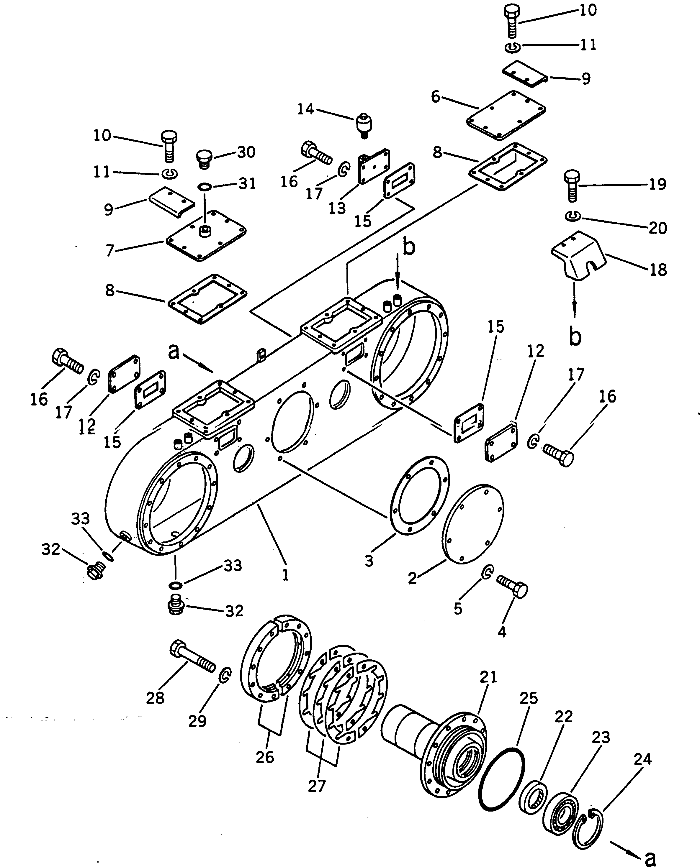
| ? | 237-23-00012 | TANDEM DRIVE ASS'Y,L.H. | 1 | SN: 2001- |
|||
| ? | 237-23-00052 | TANDEM DRIVE ASS'Y,R.H. | 1 | SN: 2001- |
|||
| ? | THESE ASSEMBLIES CONSIST OF ALL PARTS SHOWN IN FIGS.321 AND 322. | ||||||
| ? | 237-23-11111 | • CASE | 1 | SN: 2001- |
|||
| ? | 232-23-51210 | • COVER | 1 | SN: 2001- |
|||
| ? | 232-23-51220 | • GASKET (KIT) | 1 | SN: 2001- |
|||
| ? | 01010-31230 | • BOLT | 8 | SN: 2001- |
|||
| ? | 01602-01236 | • WASHER,SPRING | 8 | SN: 2001- |
|||
| ? | 237-23-11141 | • COVER | 1 | SN: 2001- |
|||
| ? | 237-23-11521 | • COVER | 1 | SN: 2001- |
|||
| ? | 237-23-11151 | • GASKET (KIT) | 2 | SN: 2001- |
|||
| ? | 237-23-11661 | • COVER | 2 | SN: 2001- |
|||
| ? | 01010-31230 | • BOLT | 8 | SN: 2001- |
|||
| ? | 01602-01236 | • WASHER,SPRING | 8 | SN: 2001- |
|||
| ? | 237-23-11530 | • PLATE | 3 | SN: 2001- |
|||
| ? | 237-23-11540 | • PLATE | 1 | SN: 2001- |
|||
| ? | 07030-00252 | • BREATHER | 1 | SN: 2001- |
|||
| ? | 237-23-11550 | • GASKET (KIT) | 4 | SN: 2001- |
|||
| ? | 01010-31230 | • BOLT | 16 | SN: 2001- |
|||
| ? | 01602-01236 | • WASHER,SPRING | 16 | SN: 2001- |
|||
| ? | 237-23-11650 | • COVER | 2 | SN: 2001- |
|||
| ? | 01010-31225 | • BOLT | 4 | SN: 2001- |
|||
| ? | 01602-01236 | • WASHER,SPRING | 4 | SN: 2001- |
|||
| ? | 237-23-11241 | • FLANGE | 1 | SN: 2001- |
|||
| ? | 07012-00085 | • SEAL,OIL (KIT) | 1 | SN: 2001- |
|||
| ? | 06000-06215 | • BEARING | 1 | SN: 2001- |
|||
| ? | 04071-00130 | • RING,SNAP | 1 | SN: 2001- |
|||
| ? | 07000-15220 | • O-RING (KIT) | 1 | SN: 2001- |
|||
| ? | 237-23-11250 | • COVER | 2 | SN: 2001- |
|||
| ? | 237-23-00020 | • SHIM ASS'Y (KIT) | 1 | SN: 2001- |
|||
| ? | ☆ | • • SHIM¤ 0.1MM | 10 | SN: 2001- |
|||
| ? | ☆ | • • SHIM¤ 0.2MM | 8 | SN: 2001- |
|||
| ? | ☆ | • • SHIM¤ 1.0MM | 4 | SN: 2001- |
|||
| ? | 01010-31475 | • BOLT | 12 | SN: 2001- |
|||
| ? | 01602-01442 | • WASHER,SPRING | 12 | SN: 2001- |
|||
| ? | 07040-12414 | PLUG | 1 | SN: 2001- |
|||
| ? | 07002-12434 | O-RING (KIT) | 1 | SN: 2001- |
|||
| ? | 07044-12412 | PLUG | 2 | SN: 2001- |
|||
| ? | 07002-12434 | O-RING (KIT) | 2 | SN: 2001- |
