| Номер на схеме | Каталожный номер | Название | Количество | Детали | |||
|---|---|---|---|---|---|---|---|
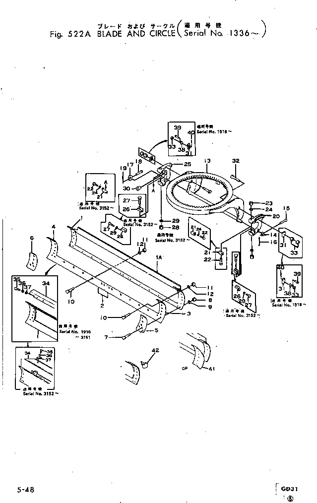
| ? | 233-70-00109 | BLADE ASS'Y | 1 | SN: 4087- |
|||
| ? | □233-70-00106 | BLADE ASS'Y | 1 | SN: 3152-4086 |
|||
| ? | 233-70-00105 | BLADE ASS'Y | 1 | SN: 2864-3151 |
|||
| ? | □233-70-00104 | BLADE ASS'Y | 1 | SN: 2300-2863 |
|||
| ? | □233-70-00103 | BLADE ASS'Y | 1 | SN: 1916-2299 |
|||
| ? | 233-70-00102 | BLADE ASS'Y | 1 | SN: 1336-1915 |
|||
| ? | 233-70-12113 | • BLADE | 1 | SN: 3152- |
|||
| ? | □233-70-12112 | • BLADE | 1 | SN: 1916-3151 |
|||
| ? | 233-70-12111 | • BLADE | 1 | SN: 1336-1915 |
|||
| ? | 233-70-12412 | • • RAIL | 2 | SN: 1336- |
|||
| ? | □233-70-12411 | • • RAIL | 2 | SN: 3152-4781 |
|||
| ? | 233-70-12410 | • • RAIL | 2 | SN: 1336-3151 |
|||
| ? | 233-70-12141 | • EDGE | 2 | SN: 2864- |
|||
| ? | □09270-10000 | • EDGE | 2 | SN: 2300-2863 |
|||
| ? | □233-70-12140 | • EDGE | 2 | SN: 1003-2299 |
|||
| ? | 233-870-6111 | EDGE,(FOR ICE) | 2 | SN: .- |
|||
| ? | 233-870-6110 | EDGE,(FOR ICE) | 2 | SN: 1003-. |
|||
| ? | 233-870-6120 | EDGE,(FOR ICE) | 2 | SN: 1003-. |
|||
| ? | 233-70-12150 | • BIT | 1 | SN: 1003- |
|||
| ? | 233-70-12160 | • BIT | 1 | SN: 1003- |
|||
| ? | 232-70-12150 | • BIT | 1 | SN: 1003- |
|||
| ? | 232-70-12160 | • BIT | 1 | SN: 1003- |
|||
| ? | 232-70-12460 | • BOLT | 10 | SN: 1205- |
|||
| ? | 232-70-12480 | • NUT | 10 | SN: 2300- |
|||
| ? | 02290-11016 | • NUT | 10 | SN: 2300-4193 |
|||
| ? | □02290-01016 | • NUT | 10 | SN: 1205-2299 |
|||
| ? | 01602-01648 | • WASHER | 10 | SN: 1003-4086 |
|||
| ? | 232-70-12450 | • BOLT | 12 | SN: ..- |
|||
| ? | □02090-11055 | • BOLT | 12 | SN: .-.. |
|||
| ? | □02090-11050 | • BOLT | 12 | SN: 2300-. |
|||
| ? | □02090-01050 | • BOLT | 12 | SN: 1205-2299 |
|||
| ? | 232-70-12480 | • NUT | 12 | SN: 2300- |
|||
| ? | □02290-11016 | • NUT | 12 | SN: 1205-4193 |
|||
| ? | 01602-01648 | • WASHER | 12 | SN: 1003-4086 |
|||
| ? | 233-70-12222 | CIRCLE | 1 | SN: 1336- |
|||
| ? | 232-70-12350 | COLLAR | 1 | SN: 1336- |
|||
| ? | 232-70-12360 | PIN | 1 | SN: 1336- |
|||
| ? | 04050-04022 | PIN | 1 | SN: 1336- |
|||
| ? | 233-70-12350 | COLLAR | 1 | SN: 1336- |
|||
| ? | 232-27-11150 | PIN | 1 | SN: 1336- |
|||
| ? | 04050-04025 | PIN | 1 | SN: 1336- |
|||
| ? | 232-70-12256 | ADJUSTER,L.H. | 1 | SN: 3152- |
|||
| ? | □232-70-12255 | ADJUSTER,L.H. | 1 | SN: 2516-3151 |
|||
| ? | □232-70-12254 | ADJUSTER,L.H. | 1 | SN: 1916-2515 |
|||
| ? | 232-70-12253 | RATCHET,L.H. | 1 | SN: 1336-1915 |
|||
| ? | 232-70-12420 | GUIDE | 1 | SN: 3152- |
|||
| ? | 232-70-12430 | GUIDE | 1 | SN: 3152- |
|||
| ? | 232-70-12271 | GUIDE,L.H. | 2 | SN: 1336-3151 |
|||
| ? | 01010-31435 | BOLT | 2 | SN: 3152- |
|||
| ? | 02090-10850 | BOLT | 2 | SN: 2300-3151 |
|||
| ? | 02090-00850 | BOLT | 2 | SN: 1336-2299 |
|||
| ? | 02290-10813 | NUT | 2 | SN: 2300-3151 |
|||
| ? | 02290-00813 | NUT | 2 | SN: 1336-2299 |
|||
| ? | 01602-01442 | WASHER | 2 | SN: 3152- |
|||
| ? | 01602-01338 | WASHER | 2 | SN: 1336-3151 |
|||
| ? | 233-70-12265 | ADJUSTER,R.H. | 1 | SN: 3152- |
|||
| ? | 233-70-12264 | RATCHET,R.H. | 1 | SN: 1916-3151 |
|||
| ? | 233-70-12263 | RATCHET,R.H. | 1 | SN: 1336-1915 |
|||
| ? | 232-70-12430 | GUIDE,UPPER | 1 | SN: 3152- |
|||
| ? | 232-70-12420 | GUIDE,LOWER | 1 | SN: 3152- |
|||
| ? | 232-70-12271 | GUIDE | 2 | SN: 1336-3151 |
|||
| ? | 01010-31435 | BOLT | 2 | SN: 3152- |
|||
| ? | 02090-10850 | BOLT | 2 | SN: 2300-3151 |
|||
| ? | 02090-00850 | BOLT | 2 | SN: 1336-2299 |
|||
| ? | 02290-10813 | NUT | 2 | SN: 2300-3151 |
|||
| ? | 02290-00813 | NUT | 2 | SN: 1336-2299 |
|||
| ? | 01602-01442 | WASHER | 2 | SN: 3152- |
|||
| ? | 01602-01442 | WASHER | 2 | SN: 1336-3151 |
|||
| ? | 233-70-12240 | BUSHING | 2 | SN: 1003-1915 |
|||
| ? | 232-70-12311 | BLOCK | 2 | SN: 1916- |
|||
| ? | 232-70-12310 | BLOCK | 2 | SN: 1003-1915 |
|||
| ? | 232-70-12322 | BOLT | 2 | SN: 2300- |
|||
| ? | 232-70-12321 | BOLT | 2 | SN: 1003-2299 |
|||
| ? | 01580-12419 | NUT | 2 | SN: 2300- |
|||
| ? | 01500-32418 | NUT | 2 | SN: 1916-2299 |
|||
| ? | 01500-32418 | NUT | 4 | SN: 1003-1915 |
|||
| ? | 233-70-12371 | COVER | 1 | SN: 3152- |
|||
| ? | 233-70-12370 | COVER | 1 | SN: 1916-3151 |
|||
| ? | 01010-31230 | BOLT | 5 | SN: 3152- |
|||
| ? | 01010-31230 | BOLT | 11 | SN: 1916-3151 |
|||
| ? | 01602-01236 | WASHER | 5 | SN: 3152- |
|||
| ? | 01602-01236 | WASHER | 11 | SN: 1916-3151 |
|||
| ? | 234-70-12331 | PLATE | 5 | SN: 3523- |
|||
| ? | 234-70-12330 | WASHER | 5 | SN: 3152-3522 |
|||
| ? | 01640-01223 | WASHER | 11 | SN: 1916-3151 |
|||
| ? | 232-70-12381 | LOCK | 2 | SN: 2300- |
|||
| ? | 232-70-12380 | PLATE | 2 | SN: 1916-2299 |
|||
| ? | 04205-11232 | PIN | 2 | SN: 1916- |
|||
| ? | 04052-01253 | PIN | 2 | SN: 1916- |
|||
| ? | 233-870-5111 | EXTENSION,L.H. | 1 | SN: 1003- |
|||
| ? | 233-870-5121 | EXTENSION,R.H. | 1 | SN: 1003- |
|||
| ? | 232-835-1110 | PROTECTOR | 2 | SN: 1003- |
