| Номер на схеме | Каталожный номер | Название | Количество | Детали | |||
|---|---|---|---|---|---|---|---|
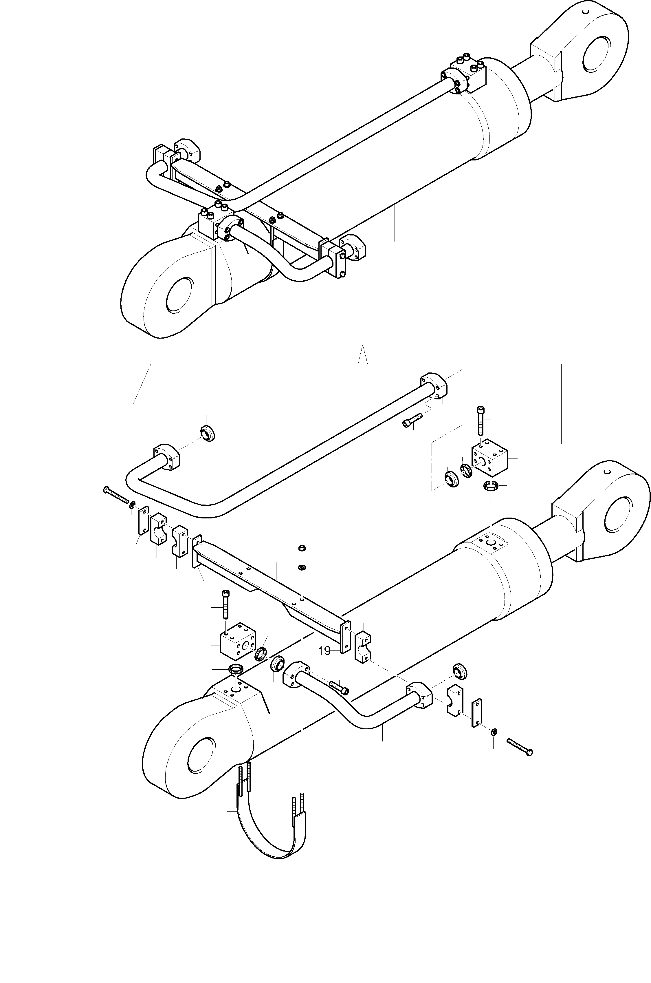
| ? | Cylinder with pipes assy. fig-nos: 02 and 03 | 1 | EnglischBem: DeutschBem: DeutschDesc: Zylinder mit Verrohrung, kpl.
Bild-Nr. 02 u. 03 InternBDB: InternKon: SerienBem: Zwhead_Deu: Zwhead_Eng: |
||||
| ? | see page Hydr.-cylinder | 1 | EnglischBem: DeutschBem: DeutschDesc: siehe EL-Blatt Hydr.-Zylinder InternBDB: InternKon: 456 194 40 / 1 SerienBem: Zwhead_Deu: Zwhead_Eng: |
||||
| ? | 659 031 40 | Pipes assy. | 1 | EnglischBem: DeutschBem: DeutschDesc: Verrohrung kpl. InternBDB: E-ST InternKon: 456 194 40 / 2 SerienBem: Zwhead_Deu: Zwhead_Eng: |
|||
| ? | 463 863 40 | Clamp clip | 1 | EnglischBem: DeutschBem: DeutschDesc: Spannbьgel InternBDB: InternKon: 659 031 40 / 1 SerienBem: Zwhead_Deu: Zwhead_Eng: |
|||
| ? | 456 188 40 | Retainer | 1 | EnglischBem: DeutschBem: DeutschDesc: Halter InternBDB: InternKon: 659 031 40 / 2 SerienBem: Zwhead_Deu: Zwhead_Eng: |
|||
| ? | 513 302 98 | Connecting block | 2 | EnglischBem: DeutschBem: DeutschDesc: AnschluЯklotz InternBDB: 1 1/2 WN 341 990 40 InternKon: 659 031 40 / 3 SerienBem: Zwhead_Deu: Zwhead_Eng: |
|||
| ? | 502 977 98 | Clamp | 4 | EnglischBem: DeutschBem: DeutschDesc: Schelle InternBDB: S-4-G-50 /3015 InternKon: 659 031 40 / 6 SerienBem: Zwhead_Deu: Zwhead_Eng: |
|||
| ? | 765 992 73 | Pipe assy. Ш 50 | 1 | EnglischBem: DeutschBem: DeutschDesc: Rohrleitung kpl. Ш 50 InternBDB: 659 029 40 InternKon: 659 031 40 / 4 SerienBem: Zwhead_Deu: Zwhead_Eng: |
|||
| ? | 765 993 73 | Pipe assy. Ш 50 | 1 | EnglischBem: DeutschBem: DeutschDesc: Rohrleitung kpl. Ш 50 InternBDB: 659 034 40 InternKon: 659 031 40 / 5 SerienBem: Zwhead_Deu: Zwhead_Eng: |
|||
| ? | 500 127 98 | Flange | 4 | EnglischBem: DeutschBem: DeutschDesc: Flansch InternBDB: FE-5000-24/6 InternKon: 659 031 40 / 9 SerienBem: Zwhead_Deu: Zwhead_Eng: |
|||
| ? | 501 898 98 | Collar ring | 2 | EnglischBem: DeutschBem: DeutschDesc: Kragenring InternBDB: K-5060-24 InternKon: 659 031 40 / 11 SerienBem: Zwhead_Deu: Zwhead_Eng: |
|||
| ? | 500 203 98 | Collar ring | 2 | EnglischBem: DeutschBem: DeutschDesc: Kragenring InternBDB: KO-5060-24 InternKon: 659 031 40 / 10 SerienBem: Zwhead_Deu: Zwhead_Eng: |
|||
| ? | 308 599 99 | Bolt | 4 | EnglischBem: DeutschBem: DeutschDesc: Schraube InternBDB: M12x105 /931 InternKon: 659 031 40 / 15 SerienBem: Zwhead_Deu: Zwhead_Eng: |
|||
| ? | 319 193 99 | Bolt | 8 | EnglischBem: DeutschBem: DeutschDesc: Schraube InternBDB: M16x110 /912 InternKon: 659 031 40 / 14 SerienBem: Zwhead_Deu: Zwhead_Eng: |
|||
| ? | 334 600 99 | Nut | 4 | EnglischBem: DeutschBem: DeutschDesc: Mutter InternBDB: M 12 /985 InternKon: 659 031 40 / 17 SerienBem: Zwhead_Deu: Zwhead_Eng: |
|||
| ? | 343 006 99 | Washer | 4 | EnglischBem: DeutschBem: DeutschDesc: Scheibe InternBDB: 13 /93 InternKon: 659 031 40 / 16 SerienBem: Zwhead_Deu: Zwhead_Eng: |
|||
| ? | 356 209 40 | Quadring | 4 | EnglischBem: DeutschBem: DeutschDesc: Rechteckring InternBDB: 1 1/2 WN 341 986 40 InternKon: 659 031 40 / 12 SerienBem: Zwhead_Deu: Zwhead_Eng: |
|||
| ? | 534 008 99 | Plate | 2 | EnglischBem: DeutschBem: DeutschDesc: Platte InternBDB: DS 6 InternKon: 659 031 40 / 7 SerienBem: Zwhead_Deu: Zwhead_Eng: |
|||
| ? | 534 009 99 | Plate | 2 | EnglischBem: DeutschBem: DeutschDesc: Platte InternBDB: ES 6 InternKon: 659 031 40 / 8 SerienBem: Zwhead_Deu: Zwhead_Eng: |
|||
| ? | 319 299 99 | Bolt | 8 | EnglischBem: DeutschBem: DeutschDesc: Schraube InternBDB: M16x60 /912 10.9 InternKon: 659 031 40 / 13 SerienBem: Zwhead_Deu: Zwhead_Eng: |
|||
| ? | 340 467 99 | Washer | 4 | EnglischBem: DeutschBem: DeutschDesc: Scheibe InternBDB: 13 /125 InternKon: 659 031 40 / 18 SerienBem: Zwhead_Deu: Zwhead_Eng: |