| Номер на схеме | Каталожный номер | Название | Количество | Детали | |||
|---|---|---|---|---|---|---|---|
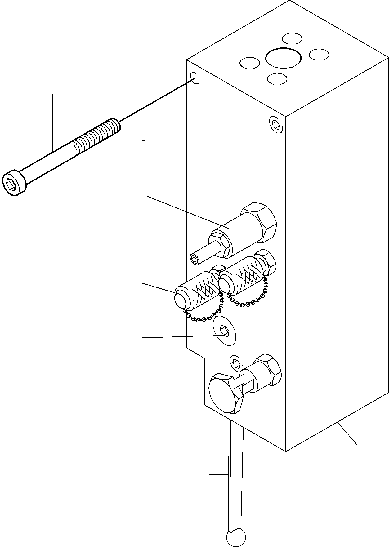
| ? | 907 121 40 | Valve - load limitation | 1 | EnglischBem: DeutschBem: DeutschDesc: Ventil - Grenzlastregelung InternBDB: InternKon: SerienBem: Zwhead_Deu: Zwhead_Eng: |
|||
| ? | 319 251 99 | Cylinder head bolt | 3 | EnglischBem: DeutschBem: DeutschDesc: Zylinderkopfschraube InternBDB: InternKon: SerienBem: Zwhead_Deu: Zwhead_Eng: |
|||
| ? | 797 162 73 | Pressure reducing valve | 1 | EnglischBem: DeutschBem: DeutschDesc: Druckminderventil InternBDB: InternKon: SerienBem: Zwhead_Deu: Zwhead_Eng: |
|||
| ? | 792 782 73 | Mounting Kit | 1 | EnglischBem: DeutschBem: DeutschDesc: Einbausatz InternBDB: InternKon: SerienBem: Zwhead_Deu: Zwhead_Eng: |
|||
| ? | 797 163 73 | Tap wrench assy | 1 | EnglischBem: DeutschBem: DeutschDesc: Hahnschlьssel kpl. InternBDB: InternKon: SerienBem: Zwhead_Deu: Zwhead_Eng: |
|||
| ? | 792 771 73 | Nozzle | 2 | EnglischBem: DeutschBem: DeutschDesc: Dьse InternBDB: InternKon: SerienBem: Zwhead_Deu: Zwhead_Eng: |
|||
| ? | 515 812 98 | Test-screw coupling | 2 | EnglischBem: DeutschBem: DeutschDesc: MinimeЯ-Schraubkupplung InternBDB: InternKon: SerienBem: Zwhead_Deu: Zwhead_Eng: |
|||
| ? | 797 164 73 | Seal kit to fig-no.07 | 1 | EnglischBem: DeutschBem: DeutschDesc: Dichtsatz zu Bild-Nr.07 InternBDB: InternKon: SerienBem: Zwhead_Deu: Zwhead_Eng: |