| Номер на схеме | Каталожный номер | Название | Количество | Детали | |||
|---|---|---|---|---|---|---|---|
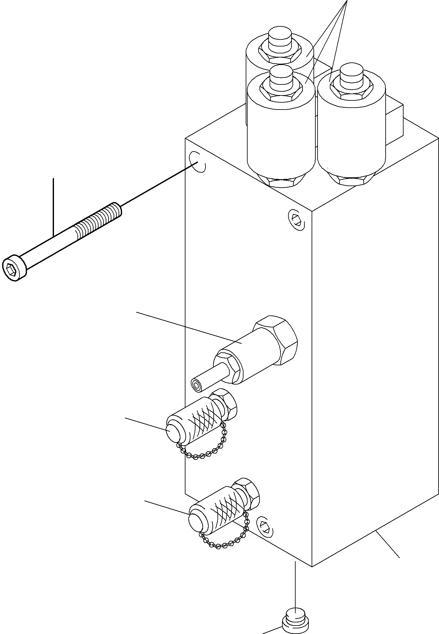
| ? | 907 120 40 | Valve - pump regulation | 1 | EnglischBem: DeutschBem: DeutschDesc: Ventil - Pumpensteuerung InternBDB: InternKon: SerienBem: Zwhead_Deu: Zwhead_Eng: |
|||
| ? | 319 251 99 | Cylinder head srew | 3 | EnglischBem: DeutschBem: DeutschDesc: Zylinderkopfschraube InternBDB: InternKon: SerienBem: Zwhead_Deu: Zwhead_Eng: |
|||
| ? | 792 778 73 | Pressure reducing valve | 1 | EnglischBem: DeutschBem: DeutschDesc: Druckminderventil InternBDB: InternKon: SerienBem: Zwhead_Deu: Zwhead_Eng: |
|||
| ? | 792 777 73 | Valve | 3 | EnglischBem: DeutschBem: DeutschDesc: Einschraubventil InternBDB: InternKon: SerienBem: Zwhead_Deu: Zwhead_Eng: |
|||
| ? | 940 532 40 | Field coil | 3 | EnglischBem: DeutschBem: DeutschDesc: Magnetspule InternBDB: InternKon: SerienBem: Zwhead_Deu: Zwhead_Eng: |
|||
| ? | 515 812 98 | Test-screw coupling | 2 | EnglischBem: DeutschBem: DeutschDesc: MinimeЯ-Schraubkupplung InternBDB: InternKon: SerienBem: Zwhead_Deu: Zwhead_Eng: |
|||
| ? | 255 985 40 | Plug | 2 | EnglischBem: DeutschBem: DeutschDesc: VerschluЯschraube InternBDB: InternKon: SerienBem: Zwhead_Deu: Zwhead_Eng: |
|||
| ? | 792 792 73 | Seal kit to fig-no. 07 | 1 | EnglischBem: DeutschBem: DeutschDesc: Dichtsatz zu Bild-Nr. 07 InternBDB: InternKon: SerienBem: Zwhead_Deu: Zwhead_Eng: |
|||
| ? | 792 794 73 | Seal kit to fig-no. 06 | 1 | EnglischBem: DeutschBem: DeutschDesc: Dichtsatz zu Bild-Nr. 06 InternBDB: InternKon: SerienBem: Zwhead_Deu: Zwhead_Eng: |