| Номер на схеме | Каталожный номер | Название | Количество | Детали | |||
|---|---|---|---|---|---|---|---|
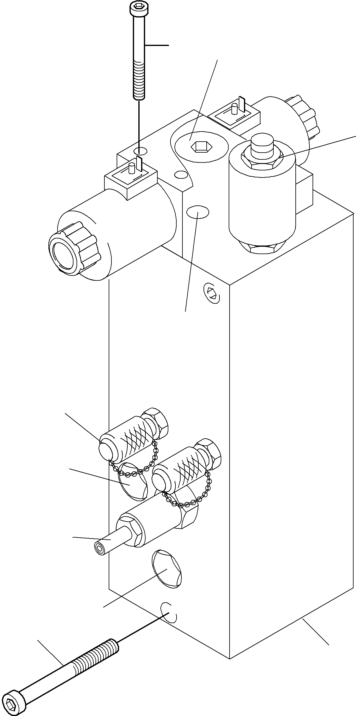
| ? | 907 114 40 | Valve - Ladder 45 bar | 1 | EnglischBem: DeutschBem: DeutschDesc: Ventil - Aufstieg 45 bar InternBDB: InternKon: SerienBem: Zwhead_Deu: Zwhead_Eng: |
|||
| ? | 319 251 99 | Cylinder head srew | 3 | EnglischBem: DeutschBem: DeutschDesc: Zylinderkopfschraube InternBDB: InternKon: SerienBem: Zwhead_Deu: Zwhead_Eng: |
|||
| ? | 795 979 73 | Valve | 1 | EnglischBem: DeutschBem: DeutschDesc: Einschraubventil InternBDB: InternKon: SerienBem: Zwhead_Deu: Zwhead_Eng: |
|||
| ? | 940 532 40 | Field coil | 1 | EnglischBem: DeutschBem: DeutschDesc: Magnetspule InternBDB: InternKon: SerienBem: Zwhead_Deu: Zwhead_Eng: |
|||
| ? | 511 562 98 | Cylinder head srew | 4 | EnglischBem: DeutschBem: DeutschDesc: Zylinderkopfschraube InternBDB: InternKon: SerienBem: Zwhead_Deu: Zwhead_Eng: |
|||
| ? | 794 383 73 | Non return valve | 2 | EnglischBem: DeutschBem: DeutschDesc: Rьckschlagventil InternBDB: InternKon: SerienBem: Zwhead_Deu: Zwhead_Eng: |
|||
| ? | 792 767 73 | Valve | 1 | EnglischBem: DeutschBem: DeutschDesc: Wechselventil InternBDB: InternKon: SerienBem: Zwhead_Deu: Zwhead_Eng: |
|||
| ? | 792 766 73 | Pressure relief valve | 1 | EnglischBem: DeutschBem: DeutschDesc: Druckbegrenzungsventil InternBDB: InternKon: SerienBem: Zwhead_Deu: Zwhead_Eng: |
|||
| ? | 792 771 73 | Nozzle | 1 | EnglischBem: DeutschBem: DeutschDesc: Dьse InternBDB: InternKon: SerienBem: Zwhead_Deu: Zwhead_Eng: |
|||
| ? | 792 770 73 | Nozzle | 1 | EnglischBem: DeutschBem: DeutschDesc: Dьse InternBDB: InternKon: SerienBem: Zwhead_Deu: Zwhead_Eng: |
|||
| ? | 515 812 98 | Test-screw coupling | 2 | EnglischBem: DeutschBem: DeutschDesc: MinimeЯ-Schraubkupplung InternBDB: InternKon: SerienBem: Zwhead_Deu: Zwhead_Eng: |
|||
| ? | 792 786 73 | Seal kit to fig-no. 10, 06 | 1 | EnglischBem: DeutschBem: DeutschDesc: Dichtsatz zu Bild-Nr. 10, 06 InternBDB: InternKon: SerienBem: Zwhead_Deu: Zwhead_Eng: |
|||
| ? | 792 787 73 | Seal kit to fig-no. 12 | 1 | EnglischBem: DeutschBem: DeutschDesc: Dichtsatz zu Bild-Nr. 12 InternBDB: InternKon: SerienBem: Zwhead_Deu: Zwhead_Eng: |
|||
| ? | 792 788 73 | Seal kit to fig-no.11 | 1 | EnglischBem: DeutschBem: DeutschDesc: Dichtsatz zu Bild-Nr. 11 InternBDB: InternKon: SerienBem: Zwhead_Deu: Zwhead_Eng: |