| Номер на схеме | Каталожный номер | Название | Количество | Детали | |||
|---|---|---|---|---|---|---|---|
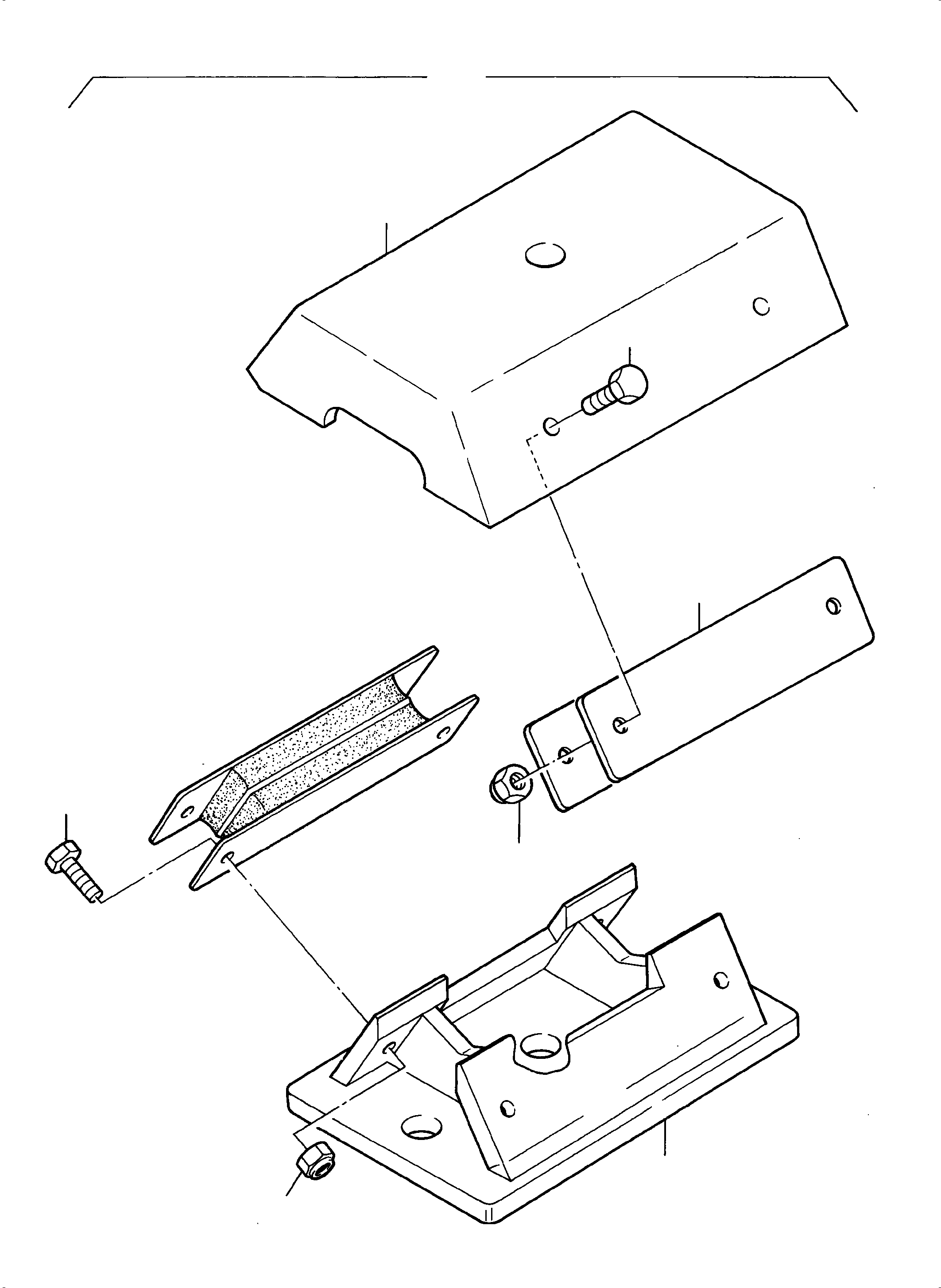
| ? | 901 853 40 | Engine mounting assy. | 1 | EnglischBem: DeutschBem: DeutschDesc: Motorlager, kpl. InternBDB: InternKon: SerienBem: Zwhead_Deu: Zwhead_Eng: |
|||
| ? | 462 994 40 | Stand of the bearing | 1 | EnglischBem: DeutschBem: DeutschDesc: LagerfuЯ InternBDB: InternKon: 901 853 40 / 1 SerienBem: Zwhead_Deu: Zwhead_Eng: |
|||
| ? | 462 995 40 | Bearing cover | 1 | EnglischBem: DeutschBem: DeutschDesc: Lagerdeckel InternBDB: InternKon: 901 853 40 / 2 SerienBem: Zwhead_Deu: Zwhead_Eng: |
|||
| ? | 896 672 40 | Rubber metal bar | 2 | EnglischBem: DeutschBem: DeutschDesc: Metallgummischiene InternBDB: TL InternKon: 901 853 40 / 3 SerienBem: Zwhead_Deu: Zwhead_Eng: |
|||
| ? | 307 780 99 | Bolt | 4 | EnglischBem: DeutschBem: DeutschDesc: Schraube InternBDB: M10x35 /933 InternKon: 901 853 40 / 4 SerienBem: Zwhead_Deu: Zwhead_Eng: |
|||
| ? | 507 037 98 | Nut | 8 | EnglischBem: DeutschBem: DeutschDesc: Mutter InternBDB: M 10 /985 InternKon: 901 853 40 / 5 SerienBem: Zwhead_Deu: Zwhead_Eng: |
|||
| ? | 307 779 99 | Bolt | 4 | EnglischBem: DeutschBem: DeutschDesc: Schraube InternBDB: M10x30 /933 InternKon: 901 853 40 / 6 SerienBem: Zwhead_Deu: Zwhead_Eng: |