| Номер на схеме | Каталожный номер | Название | Количество | Детали | |||
|---|---|---|---|---|---|---|---|
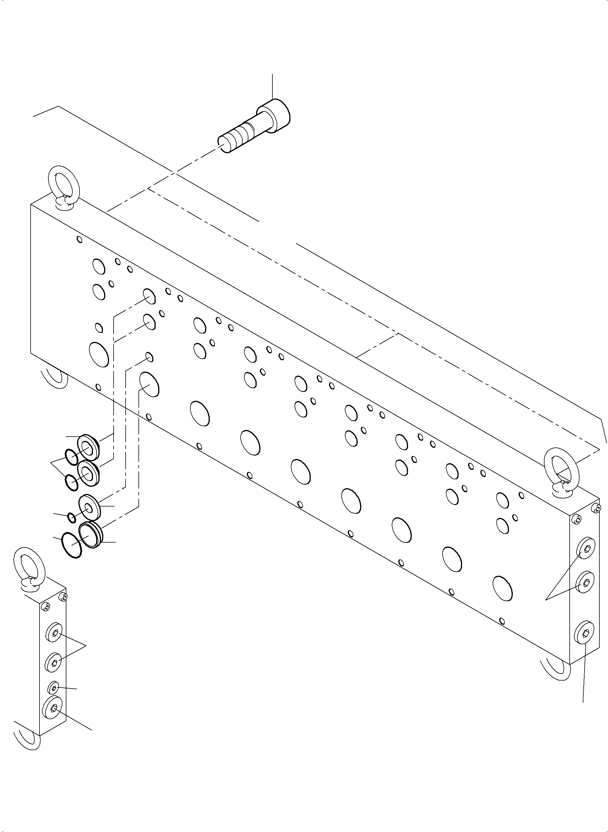
| ? | 907 108 40 | Base plate | 1 | EnglischBem: DeutschBem: DeutschDesc: Grundplatte InternBDB: InternKon: SerienBem: Zwhead_Deu: Zwhead_Eng: |
|||
| ? | 319 420 99 | Cylinder head bolt | 4 | EnglischBem: DeutschBem: DeutschDesc: Zylinderkopfschraube InternBDB: InternKon: SerienBem: Zwhead_Deu: Zwhead_Eng: |
|||
| ? | 360 873 40 | Plug | 4 | EnglischBem: DeutschBem: DeutschDesc: VerschluЯschraube InternBDB: InternKon: SerienBem: Zwhead_Deu: Zwhead_Eng: |
|||
| ? | 173 494 40 | Plug | 2 | EnglischBem: DeutschBem: DeutschDesc: VerschluЯschraube InternBDB: InternKon: SerienBem: Zwhead_Deu: Zwhead_Eng: |
|||
| ? | 202 970 40 | Plug | 1 | EnglischBem: DeutschBem: DeutschDesc: VerschluЯschraube InternBDB: InternKon: SerienBem: Zwhead_Deu: Zwhead_Eng: |
|||
| ? | 506 096 98 | O-Ring | 18 | EnglischBem: DeutschBem: DeutschDesc: O-Ring InternBDB: InternKon: SerienBem: Zwhead_Deu: Zwhead_Eng: |
|||
| ? | 967 507 | O-Ring | 9 | EnglischBem: DeutschBem: DeutschDesc: O-Ring InternBDB: InternKon: SerienBem: Zwhead_Deu: Zwhead_Eng: |
|||
| ? | 767 161 73 | O-Ring | 9 | EnglischBem: DeutschBem: DeutschDesc: O-Ring InternBDB: InternKon: SerienBem: Zwhead_Deu: Zwhead_Eng: |
|||
| ? | 797 662 73 | Chamber ring Ш26 inner | A/R | EnglischBem: DeutschBem: DeutschDesc: Kammerring Ш26 innen InternBDB: InternKon: SerienBem: Zwhead_Deu: Zwhead_Eng: |
|||
| ? | 797 663 73 | Chamber ring Ш20 inner | A/R | EnglischBem: DeutschBem: DeutschDesc: Kammerring Ш20 innen InternBDB: InternKon: SerienBem: Zwhead_Deu: Zwhead_Eng: |
|||
| ? | 797 664 73 | Chamber ring Ш10,5 inner | A/R | EnglischBem: DeutschBem: DeutschDesc: Kammerring Ш10,5 innen InternBDB: InternKon: SerienBem: Zwhead_Deu: Zwhead_Eng: |