| Номер на схеме | Каталожный номер | Название | Количество | Детали | |||
|---|---|---|---|---|---|---|---|
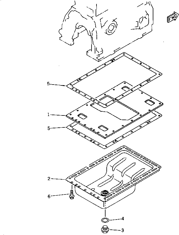
| ? | 6201-21-5151 | PLATE | 1 | SN: 12209- |
|||
| ? | 6201-21-5111 | PAN,OIL | 1 | SN: 16859- |
|||
| ? | 6204-21-5180 | PLUG,DRAIN | 1 | SN: 12209- |
|||
| ? | 07005-02216 | GASKET (K2) | 1 | SN: 14606- |
|||
| ? | 6201-21-5810 | GASKET (K2) | 2 | SN: 18306- |
|||
| ? | 01435-00820 | BOLT | 24 | SN: 18306- |
