| Номер на схеме | Каталожный номер | Название | Количество | Детали | |||
|---|---|---|---|---|---|---|---|
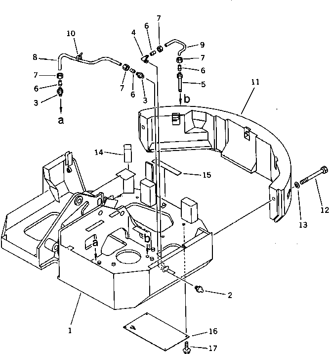
| ? | 21U-46-14110 | FRAME,REVOLVING | 1 | SN: 5336- |
|||
| ? | 07020-00000 | FITTING,GREASE | 2 | SN: 5336- |
|||
| ? | 20R-46-11160 | CONNECTOR | 2 | SN: 5336- |
|||
| ? | 20R-46-11150 | ELBOW | 1 | SN: 5336- |
|||
| ? | 21U-46-11350 | CONNECTOR | 1 | SN: 5336- |
|||
| ? | 07831-00411 | SLEEVE | 4 | SN: 5336- |
|||
| ? | 07832-00410 | NUT | 4 | SN: 5336- |
|||
| ? | 21U-46-11310 | TUBE | 1 | SN: 5336- |
|||
| ? | 21U-46-11320 | TUBE | 1 | SN: 5336- |
|||
| ? | 08034-00519 | BAND | 1 | SN: 5336- |
|||
| ? | 21U-46-11211 | WEIGHT,COUNTER | 1 | SN: 5336- |
|||
| ? | 01011-51630 | BOLT | 2 | SN: 5336- |
|||
| ? | 01643-31645 | WASHER | 2 | SN: 5336- |
|||
| ? | 21U-54-11370 | SEAT | 1 | SN: 5336- |
|||
| ? | 21U-46-11220 | SEAT | 1 | SN: 5336- |
|||
| ? | 21U-46-14120 | COVER | 1 | SN: 5336- |
|||
| ? | 01435-01020 | BOLT | 4 | SN: 5336- |
