k-part
Номер на схеме Каталожный номер Название Количество Детали
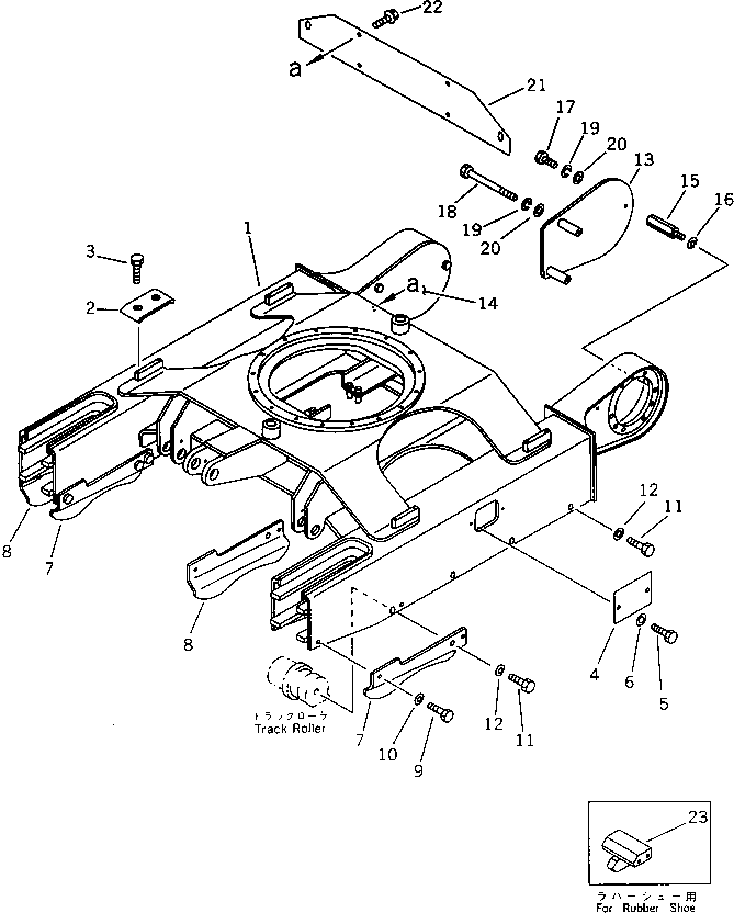
? 21U-30-11110 FRAME,TRACK 1
SN: 1001-3652
? 20R-30-11190 PLATE 4
SN: 1001-@
? 01010-51225 BOLT 8
SN: 1001-@
? 20N-30-41240 COVER 2
SN: 1001-3652
? 01010-51020 BOLT 4
SN: 1001-3652
? 01643-31032 WASHER 4
SN: 1001-3652
? 20N-30-41335 GUARD,OUTER ? L.H. AND INNER ? R.H. 2
SN: 1001-3652
? 20N-30-41325 GUARD,INNER ? L.H. AND OUTER ? R.H. 2
SN: 1001-3652
? 01010-51435 BOLT 8
SN: 1175-@
? 01010-51430 BOLT 8
SN: 1001-1174
? 01643-31445 WASHER 8
SN: 1001-@
? 01010-51430 BOLT 16
SN: 1001-@
? 01643-31445 WASHER 16
SN: 1001-@
? 20N-30-41215 COVER,L.H. 1
SN: 1001-3652
? 20N-30-41225 COVER,R.H. 1
SN: 1001-3652
? 20N-30-41235 SPACER 2
SN: 1001-3652
? 01602-21236 WASHER,SPRING 2
SN: 1001-3652
? 01010-51020 BOLT 2
SN: 1001-@
? 01010-51085 BOLT 4
SN: 1001-@
? 01602-21030 WASHER,SPRING 6
SN: 1001-3652
? 01643-31032 WASHER 6
SN: 1001-@
? 20P-30-11760 COVER 1
SN: 2358-@
? 01435-00816 BOLT 6
SN: 2358-@
? 20N-35-41621 GUIDE,(FOR RUBBER SHOE) 2
SN: 2358-@

Excavators Komatsu / PC28UU-1 S/N 1001-UP(pc28uu-r) / TRACK FRAME(#1001-3652)(090010 : 3001)