k-part
Номер на схеме Каталожный номер Название Количество Детали
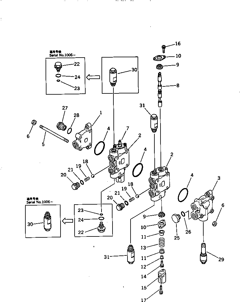
? 709-32-12202 VALVE ASS'Y 1
SN: 1001-3652
KIT-FLAG: _-
SERIALNO: 1001-3652
? (☒709-32-12201) VALVE ASS'Y 1
SN: (1006-..)
KIT-FLAG: _-
SERIALNO: (1006-..)
? (☒709-32-12200) VALVE ASS'Y 1
SN: (1001-1005)
KIT-FLAG: _-
SERIALNO: (1001-1005)
? THESE ASSEMBLIES CONSIST OF ALL PARTS SHOWN IN FIGS.6211 AND 6212.
SERIALNO:
? • COVER 1
SN: 1001-@
KIT-FLAG: _-
SERIALNO: 1001-@
? • BLOCK 2
SN: 1001-@
KIT-FLAG: _-
SERIALNO: 1001-@
? • BLOCK 1
SN: 1001-@
KIT-FLAG: _-
SERIALNO: 1001-@
? 07000-12055 • O-RING 3
SN: 1001-@
KIT-FLAG: _-
SERIALNO: 1001-@
? 709-32-11510 • STUD 4
SN: 1001-@
KIT-FLAG: _-
SERIALNO: 1001-@
? 01580-10806 • NUT 8
SN: 1001-@
KIT-FLAG: _-
SERIALNO: 1001-@
? • SPOOL,BLADE 1
SN: 1001-@
KIT-FLAG: _-
SERIALNO: 1001-@
? • SPOOL,SWING 1
SN: 1001-@
KIT-FLAG: _-
SERIALNO: 1001-@
? 709-32-11530 • SEAL 4
SN: 1001-@
KIT-FLAG: _-
SERIALNO: 1001-@
? 709-32-11540 • PLATE 4
SN: 1001-@
KIT-FLAG: _-
SERIALNO: 1001-@
? 709-32-11550 • RETAINER 4
SN: 1001-@
KIT-FLAG: _-
SERIALNO: 1001-@
? 709-32-11560 • COLLAR 2
SN: 1001-@
KIT-FLAG: _-
SERIALNO: 1001-@
? 709-32-11580 • SPRING 2
SN: .-@
KIT-FLAG: _-
SERIALNO: .-@
? 709-32-11590 • SPRING 2
SN: 1001-.
KIT-FLAG: _-
SERIALNO: 1001-.
? 01252-30620 • BOLT 2
SN: 1001-@
KIT-FLAG: _-
SERIALNO: 1001-@
? 709-32-11570 • COVER 2
SN: 1001-@
KIT-FLAG: _-
SERIALNO: 1001-@
? 01252-30610 • BOLT 4
SN: 1001-@
KIT-FLAG: _-
SERIALNO: 1001-@
? 01252-30616 • BOLT 4
SN: 1001-@
KIT-FLAG: _-
SERIALNO: 1001-@
? 04260-01270 • BALL 2
SN: 1001-@
KIT-FLAG: _-
SERIALNO: 1001-@
? 709-32-11820 • SPRING 2
SN: 1001-@
KIT-FLAG: _-
SERIALNO: 1001-@
? 709-32-11810 • PLUG 2
SN: 1001-@
KIT-FLAG: _-
SERIALNO: 1001-@
? 07002-11823 • O-RING 2
SN: 1001-@
KIT-FLAG: _-
SERIALNO: 1001-@
? 709-32-11830 • PLUG 1
SN: 1001-@
KIT-FLAG: _-
SERIALNO: 1001-@
? 709-32-11840 • O-RING 1
SN: 1001-@
KIT-FLAG: _-
SERIALNO: 1001-@
? 07002-02034 • O-RING 1
SN: 1001-@
KIT-FLAG: _-
SERIALNO: 1001-@
? 07040-12012 • PLUG 1
SN: 1001-@
KIT-FLAG: _-
SERIALNO: 1001-@
? 07002-02034 • O-RING 1
SN: 1001-@
KIT-FLAG: _-
SERIALNO: 1001-@
? 700-22-11370 • PLUG 1
SN: 1001-@
KIT-FLAG: _-
SERIALNO: 1001-@
? 07002-02434 • O-RING 1
SN: 1001-@
KIT-FLAG: _-
SERIALNO: 1001-@
? (700-22-51001) • VALVE ASS'Y,RELIEF 1
SN: 1001-@
KIT-FLAG: _-
SERIALNO: 1001-@
? (709-30-62301) • VALVE ASS'Y,SUCTION AND SAFETY 1
SN: 1001-3652
KIT-FLAG: _-
SERIALNO: 1001-3652
? (☒709-30-62300) • VALVE ASS'Y,SUCTION AND SAFETY 1
SN: (1001-..)
KIT-FLAG: _-
SERIALNO: (1001-..)
? (709-30-63501) • VALVE ASS'Y,SUCTION AND SAFETY 2
SN: 1001-3652
KIT-FLAG: _-
SERIALNO: 1001-3652
? (☒709-30-63500) • VALVE ASS'Y,SUCTION AND SAFETY 2
SN: (1001-..)
KIT-FLAG: _-
SERIALNO: (1001-..)

Excavators Komatsu / PC28UU-1 S/N 1001-UP(pc28uu0c) / HYDRAULIC CONTROL VALVE (1/2) (2-SPOOL)(#1001-3652)(180140 : 6211)