k-part
Номер на схеме Каталожный номер Название Количество Детали
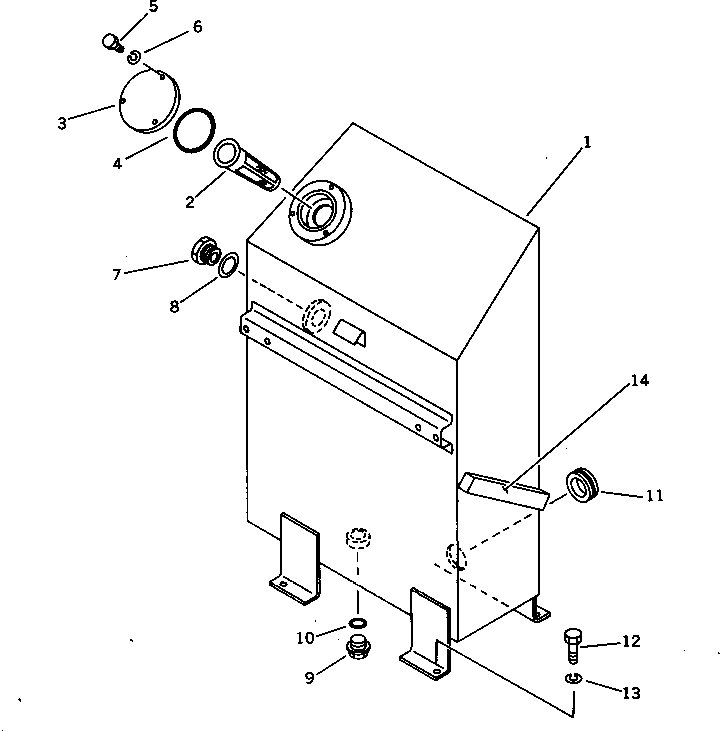
? 21U-60-11000 TANK ASS'Y 1
SN: 1001-
KIT-FLAG: _-
SERIALNO: 1001-
? 21U-60-11110 • TANK 1
SN: 1001-
KIT-FLAG: _-
SERIALNO: 1001-
? 07056-10045 • STRAINER 1
SN: 1001-
KIT-FLAG: _-
SERIALNO: 1001-
? 21U-60-11121 • FLANGE 1
SN: 1001-
KIT-FLAG: _-
SERIALNO: 1001-
? 07000-02070 • O-RING 1
SN: 1001-
KIT-FLAG: _-
SERIALNO: 1001-
? 01010-50820 • BOLT 3
SN: 1001-
KIT-FLAG: _-
SERIALNO: 1001-
? 01602-20825 • WASHER,SPRING 3
SN: 1001-
KIT-FLAG: _-
SERIALNO: 1001-
? 20N-60-11141 • GAUGE,OIL 1
SN: 1001-
KIT-FLAG: _-
SERIALNO: 1001-
? 20N-60-11180 • • GASKET 1
SN: 1001-
KIT-FLAG: _-
SERIALNO: 1001-
? 07044-12412 • PLUG 1
SN: 1001-
KIT-FLAG: _-
SERIALNO: 1001-
? 07002-02434 • O-RING 1
SN: 1001-
KIT-FLAG: _-
SERIALNO: 1001-
? 08037-03614 GROMMET 1
SN: 1001-
KIT-FLAG: _-
SERIALNO: 1001-
? 01010-51025 BOLT 4
SN: 1001-
KIT-FLAG: _-
SERIALNO: 1001-
? 01602-21030 WASHER,SPRING 4
SN: 1001-
KIT-FLAG: _-
SERIALNO: 1001-
? 21U-54-11750 SEAT 1
SN: 1001-
KIT-FLAG: _-
SERIALNO: 1001-

Excavators Komatsu / PC28UU-1 S/N 1001-UP(pc28uu0c) / HYDRAULIC TANK(180010 : 6001)