k-part
Номер на схеме Каталожный номер Название Количество Детали
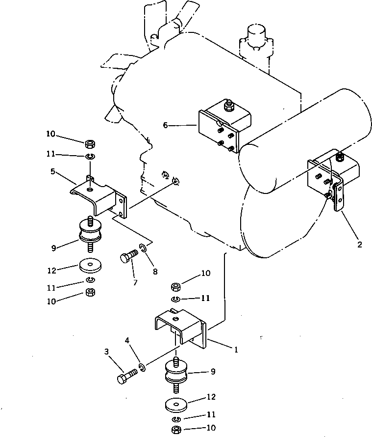
? 21U-01-11290 BRACKET,L.H. 1
SN: 1001-
KIT-FLAG: _-
SERIALNO: 1001-
? 21U-01-11280 BRACKET,R.H. 1
SN: 1001-
KIT-FLAG: _-
SERIALNO: 1001-
? 01010-51025 BOLT 6
SN: 1001-
KIT-FLAG: _-
SERIALNO: 1001-
? 01602-21030 WASHER,SPRING 6
SN: 1001-
KIT-FLAG: _-
SERIALNO: 1001-
? 21U-01-11230 BRACKET,L.H. 1
SN: 1001-
KIT-FLAG: _-
SERIALNO: 1001-
? 21U-01-11220 BRACKET,R.H. 1
SN: 1001-
KIT-FLAG: _-
SERIALNO: 1001-
? 01010-51025 BOLT 8
SN: 1001-
KIT-FLAG: _-
SERIALNO: 1001-
? 01602-21030 WASHER,SPRING 8
SN: 1001-
KIT-FLAG: _-
SERIALNO: 1001-
? FF7810-01110 CUSHION 4
SN: 1001-
KIT-FLAG: _-
SERIALNO: 1001-
? 01580-11210 NUT 8
SN: 1001-
KIT-FLAG: _-
SERIALNO: 1001-
? 01602-21236 WASHER,SPRING 8
SN: 1001-
KIT-FLAG: _-
SERIALNO: 1001-
? 21U-01-11450 SPACER 4
SN: 1001-
KIT-FLAG: _-
SERIALNO: 1001-

Excavators Komatsu / PC28UU-1 S/N 1001-UP(pc28uu0c) / ENGINE MOUNTING PARTS(030010 : 1001)