| Номер на схеме | Каталожный номер | Название | Количество | Детали | |||
|---|---|---|---|---|---|---|---|
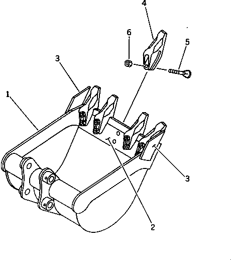
| ? | 20R-920-0010 | BUCKET ASS'Y | 1 | SN: 1001- KIT-FLAG: _- SERIALNO: 1001- |
|||
| ? | 20R-920-2111 | • BUCKET | 1 | SN: 1001- KIT-FLAG: _- SERIALNO: 1001- |
|||
| ? | 20R-920-2120 | • • LIP (WELDED) | 1 | SN: 1001- KIT-FLAG: _- SERIALNO: 1001- |
|||
| ? | 20R-70-13120 | • • CUTTER,SIDE (WELDED) | 2 | SN: 1001- KIT-FLAG: _- SERIALNO: 1001- |
|||
| ? | 10E-70-22211 | • TOOTH | 5 | SN: 1001- KIT-FLAG: _- SERIALNO: 1001- |
|||
| ? | 02090-11055 | • BOLT | 10 | SN: 1001- KIT-FLAG: _- SERIALNO: 1001- |
|||
| ? | 09218-11614 | • NUT | 10 | SN: 1001- KIT-FLAG: _- SERIALNO: 1001- |
