k-part
Номер на схеме Каталожный номер Название Количество Детали
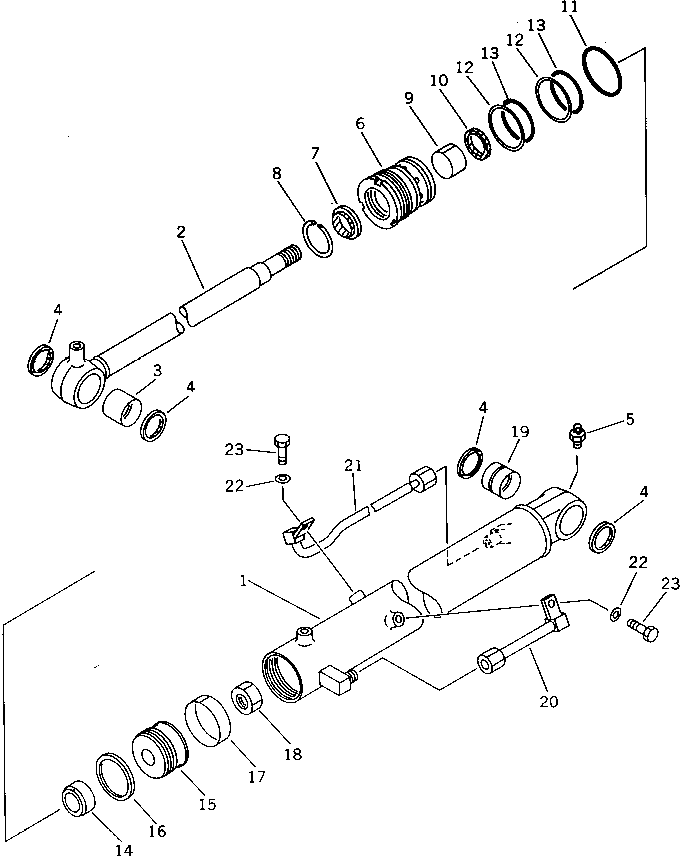
? 21U-63-02011 CYLINDER ASS'Y 1
SN: 1001-
KIT-FLAG: _-
SERIALNO: 1001-
? 21U-63-56141 • CYLINDER 1
SN: 1001-
KIT-FLAG: _-
SERIALNO: 1001-
? 21U-63-56121 • ROD 1
SN: 1001-
KIT-FLAG: _-
SERIALNO: 1001-
? 07143-10404 • BUSHING 1
SN: 1001-
KIT-FLAG: _-
SERIALNO: 1001-
? 07145-00040 • SEAL,DUST 4
SN: 1001-
KIT-FLAG: _-
SERIALNO: 1001-
? 07020-00900 • FITTING,GREASE 1
SN: 1001-
KIT-FLAG: _-
SERIALNO: 1001-
? 707-29-80261 • HEAD,CYLINDER 1
SN: 1001-
KIT-FLAG: _-
SERIALNO: 1001-
? 112-63-15370 • SEAL,DUST 1
SN: 1001-
KIT-FLAG: _-
SERIALNO: 1001-
? 07179-12057 • RING,SNAP 1
SN: 1001-
KIT-FLAG: _-
SERIALNO: 1001-
? 07177-04530 • BUSHING 1
SN: 1001-
KIT-FLAG: _-
SERIALNO: 1001-
? 707-51-45210 • PACKING,ROD 1
SN: 1001-
KIT-FLAG: _-
SERIALNO: 1001-
? 07000-02080 • O-RING 1
SN: 1001-
KIT-FLAG: _-
SERIALNO: 1001-
? 07146-02076 • RING,BACK-UP 2
SN: 1001-
KIT-FLAG: _-
SERIALNO: 1001-
? 07000-12075 • O-RING 2
SN: 1001-
KIT-FLAG: _-
SERIALNO: 1001-
? 707-71-50570 • PLUNGER 1
SN: 1001-
KIT-FLAG: _-
SERIALNO: 1001-
? 707-36-80970 • PISTON 1
SN: 1001-
KIT-FLAG: _-
SERIALNO: 1001-
? 707-44-80070 • RING,PISTON 1
SN: .-
KIT-FLAG: _-
SERIALNO: .-
? □07161-10080 • RING,PISTON 1
SN: 1001-.
KIT-FLAG: _-
SERIALNO: 1001-.
? 07156-00810 • RING,WEAR 1
SN: 1001-
KIT-FLAG: _-
SERIALNO: 1001-
? 01580-02722 • NUT 1
SN: 1001-
KIT-FLAG: _-
SERIALNO: 1001-
? 07144-10404 • BUSHING 1
SN: 1001-
KIT-FLAG: _-
SERIALNO: 1001-
? 21U-63-56171 TUBE 1
SN: 1001-
KIT-FLAG: _-
SERIALNO: 1001-
? 21U-63-56180 TUBE 1
SN: 1001-
KIT-FLAG: _-
SERIALNO: 1001-
? 01602-21030 WASHER,SPRING 2
SN: 1001-
KIT-FLAG: _-
SERIALNO: 1001-
? 01010-51020 BOLT 2
SN: 1001-
KIT-FLAG: _-
SERIALNO: 1001-

Excavators Komatsu / PC28UU-1 S/N 1001-UP(pc28uu0c) / BOOM CYLINDER(210030 : 7181)