| Номер на схеме | Каталожный номер | Название | Количество | Детали | |||
|---|---|---|---|---|---|---|---|
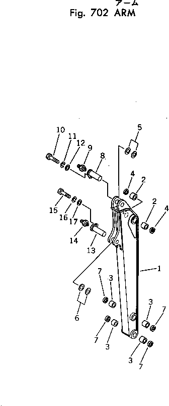
| ? | 20S-70-00030 | ARM ASS'Y | 1 | SN: 1001- |
|||
| ? | ☆ | • ARM | 1 | SN: 1001- |
|||
| ? | 20S-70-11260 | • BUSHING | 2 | SN: 2601- |
|||
| ? | □07143-10404 | • BUSHING | 2 | SN: 1001-2600 |
|||
| ? | 20S-70-11270 | • BUSHING | 4 | SN: 2601- |
|||
| ? | □07143-10304 | • BUSHING | 4 | SN: 1001-2600 |
|||
| ? | 07145-00040 | SEAL,DUST | 2 | SN: 1001- |
|||
| ? | 20R-70-11260 | SPACER ? 1.0MM | 1 | SN: 1001- |
|||
| ? | 20R-70-11270 | SPACER ? 1.0MM | 1 | SN: 1001- |
|||
| ? | 07145-00035 | SEAL,DUST | 4 | SN: 1001- |
|||
| ? | 20R-70-11171 | PIN | 1 | SN: 1001- |
|||
| ? | 07020-00000 | FITTING,GREASE | 1 | SN: 1001- |
|||
| ? | 01010-31230 | BOLT | 1 | SN: 1001- |
|||
| ? | 01602-01236 | WASHER,SPRING | 1 | SN: 1001- |
|||
| ? | 01643-31232 | WASHER | 1 | SN: 1001- |
|||
| ? | 20R-70-11212 | PIN | 1 | SN: 1001- |
|||
| ? | 07020-00000 | FITTING,GREASE | 1 | SN: 1001- |
|||
| ? | 01010-31230 | BOLT | 1 | SN: 1001- |
|||
| ? | 01602-01236 | WASHER,SPRING | 1 | SN: 1001- |
|||
| ? | 01643-31232 | WASHER | 1 | SN: 1001- |
