k-part
Номер на схеме Каталожный номер Название Количество Детали
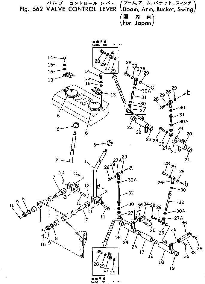
? 20S-43-11361 LEVER 1
SN: .-
? 20S-43-11360 LEVER 1
SN: 1001-.
? 20S-43-11250 • SPACER 1
SN: 1001-
? 09340-10130 • SPRING 1
SN: 1001-
? 20S-43-11461 LEVER 1
SN: .-
? 20S-43-11460 LEVER 1
SN: 1001-.
? 20S-43-11250 • SPACER 1
SN: 1001-
? 09340-10130 • SPRING 1
SN: 1001-
? 20R-43-11280 KNOB 2
SN: 1001-
? 20S-43-11370 COVER 2
SN: 1001-
? 20S-43-11380 SHAFT 2
SN: 1001-
? 20S-43-11390 WASHER 2
SN: 1001-
? 01593-11411 NUT 2
SN: 1001-
? 04050-13022 PIN,COTTER 2
SN: 1001-
? 20S-43-11410 PIN 2
SN: 1001-
? 04050-13020 PIN,COTTER 2
SN: 1001-
? 20S-43-11421 HINGE 2
SN: 1001-
? 01010-30820 BOLT 4
SN: 1001-
? 01602-00825 WASHER,SPRING 4
SN: 1001-
? 01643-30823 WASHER 4
SN: 1001-
? 20S-43-11430 COLLAR 1
SN: 1001-
? 20S-43-00300 LEVER ASS'Y 1
SN: .-
? 20S-43-00070 LEVER ASS'Y 1
SN: 1001-.
? • LEVER 1
SN: .-
? • LEVER 1
SN: 1001-.
? 09350-02220 • BUSHING 2
SN: 1001-
? 20S-43-00310 LEVER ASS'Y 2
SN: .-
? 20S-43-00080 LEVER ASS'Y 2
SN: 1001-.
? • LEVER 1
SN: .-
? • LEVER 1
SN: 1001-.
? 09350-02220 • BUSHING 2
SN: 1001-
? 20S-43-00320 LEVER ASS'Y 1
SN: .-
? 20S-43-00090 LEVER ASS'Y 1
SN: 1001-.
? 20S-43-11481 • LEVER 1
SN: .-
? • LEVER 1
SN: 1001-.
? 09350-02220 • BUSHING 2
SN: 1001-
? 20S-43-00330 LEVER ASS'Y 1
SN: .-
? 20S-43-00100 LEVER ASS'Y 1
SN: 1001-.
? • LEVER 1
SN: .-
? • LEVER 1
SN: 1001-.
? 09350-02220 • BUSHING 2
SN: 1001-
? 04250-51265 END,ROD 2
SN: .-
? 04250-51056 END,ROD 2
SN: 1001-.
? 04250-51265 END,ROD 2
SN: .-
? 203-43-21110 JOINT,BALL 2
SN: 1001-.
? 04250-71265 END,ROD 4
SN: .-
? 04250-71056 END,ROD 4
SN: 1001-.
? 01010-31235 BOLT 8
SN: .-
? 01010-31035 BOLT 6
SN: 1001-.
? 04254-01232 SPACER 16
SN: .-
? 04254-01032 SPACER 12
SN: 1001-.
? 01582-11210 NUT 4
SN: .-
? 01582-11008 NUT 4
SN: 1001-.
? 01508-21207 NUT,L.H. THREAD 4
SN: .-
? 01508-21006 NUT ? L.H. THREAD,L.H. THREAD 4
SN: 1001-.
? 20S-43-11471 ROD 2
SN: .-
? 20S-43-11470 ROD 2
SN: 1001-.
? 04248-31217 ROD 2
SN: .-
? 04248-31019 ROD 2
SN: 1001-.
? 20S-43-11340 YOKE 2
SN: 1001-
? 20S-43-11350 YOKE 2
SN: 1001-
? 04205-10622 PIN 8
SN: 1001-
? 04050-11610 PIN,COTTER 8
SN: 1001-

Excavators Komatsu / PC30-1 S/N 1001-UP(pc30-1r) / VALVE CONTROL LEVER (BOOM ?ARM ?BUCKET ?SWING)(FOR JAPAN)(180250 : 662)