| Номер на схеме | Каталожный номер | Название | Количество | Детали | |||
|---|---|---|---|---|---|---|---|
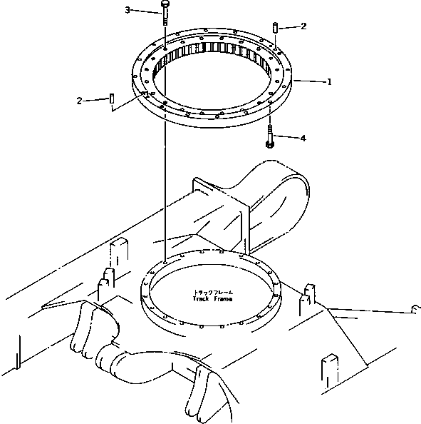
| ? | 20S-25-71102 | CIRCLE,SWING | 1 | SN: 25715- |
|||
| ? | □20S-25-71101 | CIRCLE,SWING | 1 | SN: 18001-25714 |
|||
| ? | 04020-01434 | PIN,DOWEL | 2 | SN: 18001- |
|||
| ? | 01010-51270 | BOLT | 20 | SN: 18001- |
|||
| ? | 01010-51260 | BOLT | 16 | SN: 18001- |
