| Номер на схеме | Каталожный номер | Название | Количество | Детали | |||
|---|---|---|---|---|---|---|---|
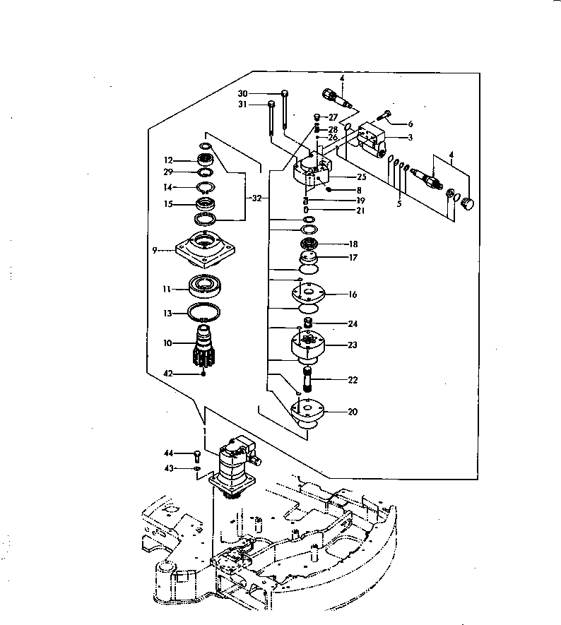
| ? | YM172175-73311 | MOTOR ASS'Y,SWING | 1 | SN: 10557-11000 |
|||
| ? | □YM172175-73310 | MOTOR ASS'Y | 1 | SN: 10001-10556 |
|||
| ? | YM172175-73331 | • VALVE ASS'Y | 1 | SN: 10557-11000 |
|||
| ? | □YM172175-73330 | • VALVE ASS'Y | 1 | SN: 10001-10556 |
|||
| ? | YM172183-73330 | • • VALVE BODY | 1 | SN: 10001-11000 |
|||
| ? | YM172175-73351 | • • CARTRIDGE ASS'Y | 2 | SN: 10557-11000 |
|||
| ? | □YM172175-73350 | • • CARTRIDGE ASS'Y | 2 | SN: 10001-10556 |
|||
| ? | YM172168-73360 | • • SEAL KIT | 1 | SN: 10001-11000 |
|||
| ? | YM172168-73370 | • • BOLT | 6 | SN: 10001-11000 |
|||
| ? | YM172175-73370 | • MOTOR ASS'Y,SWING | 1 | SN: 10557-11000 |
|||
| ? | □YM172168-73400 | • MOTOR ASS'Y | 1 | SN: 10001-10556 |
|||
| ? | YM172137-70490 | • • PLUG | 1 | SN: 10001-11000 |
|||
| ? | YM172168-73410 | • • HOUSING,BEARING | 1 | SN: 10001-11000 |
|||
| ? | YM172168-73420 | • • PINION | 1 | SN: 10001-11000 |
|||
| ? | YM172168-73430 | • • BEARING,BALL | 1 | SN: 10001-11000 |
|||
| ? | YM172168-73440 | • • BEARING | 1 | SN: 10001-11000 |
|||
| ? | YM172168-73450 | • • CIRCLIP | 1 | SN: 10001-11000 |
|||
| ? | YM172168-73460 | • • CIRCLIP,SHAFT | 1 | SN: 10001-11000 |
|||
| ? | YM172168-73470 | • • COLLAR | 1 | SN: 10001-11000 |
|||
| ? | YM172168-73480 | • • PLATE,VALVE | 1 | SN: 10001-11000 |
|||
| ? | YM172168-73490 | • • VALVE | 1 | SN: 10001-11000 |
|||
| ? | YM172175-73390 | • • RING,BALANCING | 1 | SN: 10557-11000 |
|||
| ? | YM172168-73500 | • • RING | 1 | SN: 10001-10556 |
|||
| ? | YM172175-73380 | • • SPRING | 2 | SN: 10557-11000 |
|||
| ? | □YM172168-73510 | • • SPRING | 2 | SN: 10001-10556 |
|||
| ? | YM172168-73520 | • • PLATE,WEAR | 1 | SN: 10001-11000 |
|||
| ? | (☒YM172168-73530) | • • PIN | 2 | SN: (10001-10556) |
|||
| ? | YM172168-73540 | • • DRIVE | 1 | SN: 10001-11000 |
|||
| ? | YM172168-73550 | • • ROLLER | 1 | SN: 10001-11000 |
|||
| ? | YM172168-73560 | • • DRIVE,VALVE | 1 | SN: 10001-11000 |
|||
| ? | YM172168-73570 | • • HOUSING,VALVE | 1 | SN: 10001-11000 |
|||
| ? | YM172168-73580 | • • BALL | 2 | SN: 10001-11000 |
|||
| ? | YM172168-73590 | • • PLUG | 2 | SN: 10001-11000 |
|||
| ? | YM172168-73600 | • • SPRING | 2 | SN: 10001-11000 |
|||
| ? | YM172168-73610 | • • CIRCLIP | 1 | SN: 10001-11000 |
|||
| ? | YM172168-73620 | • • BOLT | 2 | SN: 10001-11000 |
|||
| ? | YM172168-73630 | • • BOLT | 2 | SN: 10001-11000 |
|||
| ? | YM172168-73640 | • • SEAL SET | 1 | SN: 10001-11000 |
|||
| ? | YM172141-77400 | • • PLUG,BLIND | 1 | SN: 10001-11000 |
|||
| ? | YM22217-160000 | WASHER | 4 | SN: 10001-11000 |
|||
| ? | YM26116-160502 | BOLT | 4 | SN: 10001-11000 |
