| Номер на схеме | Каталожный номер | Название | Количество | Детали | |||
|---|---|---|---|---|---|---|---|
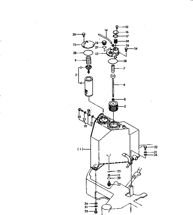
| ? | YM772175-75101 | RESERVOIR | 1 | SN: 10001- |
|||
| ? | YM172137-73700 | • FILTER,SUCTION | 1 | SN: 10001- |
|||
| ? | YM172175-73700 | • FILTER ASS'Y,RETURN | 1 | SN: 10001- |
|||
| ? | YM172175-73710 | • • ELEMENT | 1 | SN: 10001- |
|||
| ? | YM172141-73770 | • • VALVE ASS'Y,BYPASS | 1 | SN: 10001- |
|||
| ? | YM172141-73710 | • ROD,STRAINER | 1 | SN: 10001- |
|||
| ? | YM172112-75780 | • SPRING,STRAINER | 1 | SN: 10001- |
|||
| ? | YM26716-100002 | • NUT | 1 | SN: 10001- |
|||
| ? | YM933152-02710 | • SPRING,SIDE CLUTCH | 1 | SN: 10001- |
|||
| ? | YM26022-050102 | • SCREW | 3 | SN: 10001- |
|||
| ? | YM933171-23042 | • MAGNET | 1 | SN: 10001- |
|||
| ? | YM172175-75340 | • COVER | 1 | SN: 10001- |
|||
| ? | YM172175-75420 | • HOSE | 1 | SN: 10001- |
|||
| ? | YM172141-75430 | • COVER,INTAKE | 1 | SN: 10001- |
|||
| ? | YM172165-75450 | • PLATE | 1 | SN: 10001- |
|||
| ? | YM172165-75460 | • GASKET | 1 | SN: 10001- |
|||
| ? | YM172165-75481 | • ELEMENT | 1 | SN: 10001- |
|||
| ? | YM172122-75600 | • GAUGE,OIL LEVEL | 1 | SN: 10001- |
|||
| ? | YM172122-75620 | • • BOLT | 2 | SN: 10001- |
|||
| ? | YM172122-75630 | • • GASKET | 4 | SN: 10001- |
|||
| ? | YM172183-75750 | • PLUG,DRAIN | 1 | SN: 10001- |
|||
| ? | YM17211675850K | • PLUG,OIL FEED | 1 | SN: 10001- |
|||
| ? | YM26013-080252 | • BOLT | 3 | SN: 10001- |
|||
| ? | YM22417-200160 | • PIN | 1 | SN: 10001- |
|||
| ? | YM23080-010000 | • CLAMP | 1 | SN: 10001- |
|||
| ? | YM24311-000380 | • O-RING | 1 | SN: 10001- |
|||
| ? | YM24321-001050 | • O-RING | 2 | SN: 10001- |
|||
| ? | YM24341-000300 | • O-RING | 1 | SN: 10001- |
|||
| ? | YM26013-080202 | • BOLT | 3 | SN: 10001- |
|||
| ? | YM22217-140000 | WASHER | 4 | SN: 10001- |
|||
| ? | YM26116-140352 | BOLT | 2 | SN: 10001- |
|||
| ? | YM26116-140452 | BOLT | 2 | SN: 10001- |
|||
| ? | YM22137-140000 | WASHER | 4 | SN: 10001- |
