k-part
Наименование Страница Код страницы
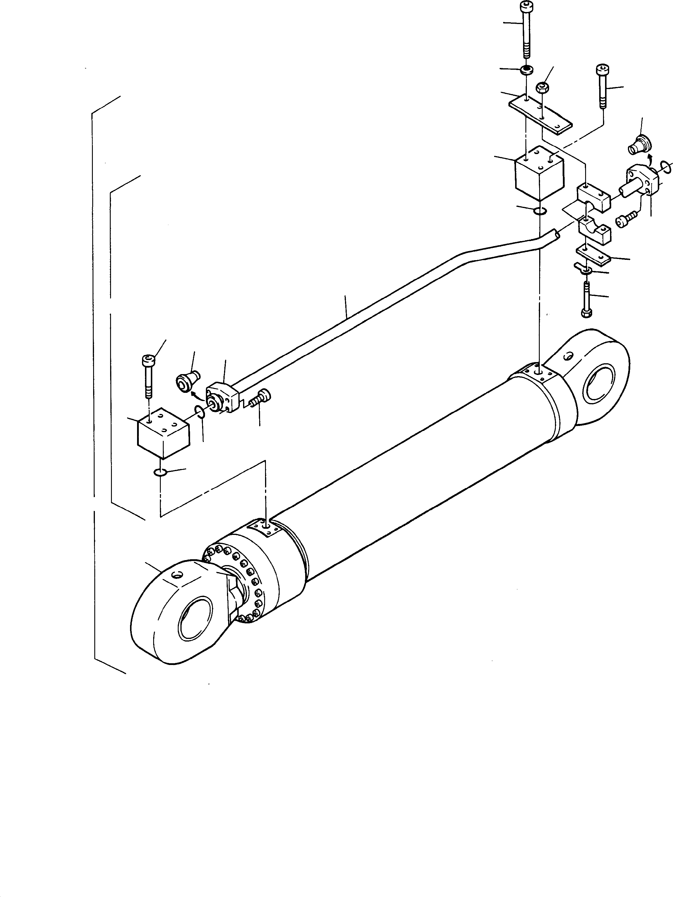
Hydraulic Cylinder 086-4176a 086-4176a

Номер на схеме Каталожный номер Название Количество Детали
? Cylinder with pipes assy. consist. of fig-nos: 02 and 03 1
EnglischBem:
DeutschBem:
DeutschDesc: Zylinder mit Verrohrung, kpl. best. aus Bild Nr. 02 u. 03
InternBDB:
InternKon:
SerienBem:
Zwhead_Deu:
Zwhead_Eng:
? 541 293 40 Pipes assy. consist. of fig nos: 04-23 1
EnglischBem:
DeutschBem:
DeutschDesc: Verrohrung, kpl. best. aus Bild Nr. 04-23
InternBDB:
InternKon: 541 299 40 / 2
SerienBem:
Zwhead_Deu:
Zwhead_Eng:
? 429 387 40 Connecting block 1
EnglischBem:
DeutschBem:
DeutschDesc: AnschluЯklotz
InternBDB:
InternKon: 541 293 40 / 1
SerienBem:
Zwhead_Deu:
Zwhead_Eng:
? 429 388 40 Connecting block 1
EnglischBem:
DeutschBem:
DeutschDesc: AnschluЯklotz
InternBDB:
InternKon: 541 293 40 / 2
SerienBem:
Zwhead_Deu:
Zwhead_Eng:
? 780 167 73 Pipe assy. Ш38 1
EnglischBem:
DeutschBem:
DeutschDesc: Rohrleitung kpl. Ш38
InternBDB: 574 407 40
InternKon: 541 293 40 / 3
SerienBem:
Zwhead_Deu:
Zwhead_Eng:
? 574 408 40 Plate 1
EnglischBem:
DeutschBem:
DeutschDesc: Platte
InternBDB:
InternKon: 541 293 40 / 4
SerienBem:
Zwhead_Deu:
Zwhead_Eng:
? 500 129 98 Flange 2
EnglischBem:
DeutschBem:
DeutschDesc: Flansch
InternBDB: FE 3800 20/6
InternKon: 541 293 40 / 5
SerienBem:
Zwhead_Deu:
Zwhead_Eng:
? 500 202 98 Ring 1
EnglischBem:
DeutschBem:
DeutschDesc: Ring
InternBDB: KO 3850 20
InternKon: 541 293 40 / 6
SerienBem:
Zwhead_Deu:
Zwhead_Eng:
? 501 871 98 Ring 1
EnglischBem:
DeutschBem:
DeutschDesc: Ring
InternBDB: K 3850 20
InternKon: 541 293 40 / 7
SerienBem:
Zwhead_Deu:
Zwhead_Eng:
? 319 209 99 Bolt 4
EnglischBem:
DeutschBem:
DeutschDesc: Schraube
InternBDB: M14 x 45 / 912
InternKon: 541 293 40 / 8
SerienBem:
Zwhead_Deu:
Zwhead_Eng:
? 319 278 99 Bolt 4
EnglischBem:
DeutschBem:
DeutschDesc: Schraube
InternBDB: M12 x 80 / 912
InternKon: 541 293 40 / 9
SerienBem:
Zwhead_Deu:
Zwhead_Eng:
? 319 280 99 Bolt 2
EnglischBem:
DeutschBem:
DeutschDesc: Schraube
InternBDB: M12 x 100 / 912
InternKon: 541 293 40 / 10
SerienBem:
Zwhead_Deu:
Zwhead_Eng:
? 504 623 98 Bolt 2
EnglischBem:
DeutschBem:
DeutschDesc: Schraube
InternBDB: M12 x 130 / 912
InternKon: 541 293 40 / 11
SerienBem:
Zwhead_Deu:
Zwhead_Eng:
? 308 585 99 Bolt 2
EnglischBem:
DeutschBem:
DeutschDesc: Schraube
InternBDB: M10 x 100 / 931
InternKon: 541 293 40 / 12
SerienBem:
Zwhead_Deu:
Zwhead_Eng:
? 343 005 99 Washer 2
EnglischBem:
DeutschBem:
DeutschDesc: Scheibe
InternBDB: 10,5 / 93
InternKon: 541 293 40 / 13
SerienBem:
Zwhead_Deu:
Zwhead_Eng:
? 332 113 99 Nut 2
EnglischBem:
DeutschBem:
DeutschDesc: Mutter
InternBDB: M10 / 934
InternKon: 541 293 40 / 14
SerienBem:
Zwhead_Deu:
Zwhead_Eng:
? 534 022 99 Half clamp 2
EnglischBem:
DeutschBem:
DeutschDesc: Schellenhдlfte
InternBDB: CS 5 / 38
InternKon: 541 293 40 / 15
SerienBem:
Zwhead_Deu:
Zwhead_Eng:
? 534 004 99 Plate 1
EnglischBem:
DeutschBem:
DeutschDesc: Platte
InternBDB: DS 5
InternKon: 541 293 40 / 16
SerienBem:
Zwhead_Deu:
Zwhead_Eng:
? 006 720 98 O-ring 1
EnglischBem:
DeutschBem:
DeutschDesc: O-Ring
InternBDB: 33 x 3,5
InternKon: 541 293 40 / 17
SerienBem:
Zwhead_Deu:
Zwhead_Eng:
? 006 725 98 O-ring 1
EnglischBem:
DeutschBem:
DeutschDesc: O-Ring
InternBDB: 37,69 x 3,53
InternKon: 541 293 40 / 18
SerienBem:
Zwhead_Deu:
Zwhead_Eng:
? 356 210 40 Seal ring 1
EnglischBem:
DeutschBem:
DeutschDesc: Dichtring
InternBDB: FR 76 - 5957 - 2200
InternKon: 541 293 40 / 19
SerienBem:
Zwhead_Deu:
Zwhead_Eng:
? 340 467 99 Washer 2
EnglischBem:
DeutschBem:
DeutschDesc: Scheibe
InternBDB: 13 / 125
InternKon: 541 293 40 / 20
SerienBem:
Zwhead_Deu:
Zwhead_Eng:

Excavators Mining Komatsu / H95 S/N 86052(g86052) / Stick Cylinder with Pipes, R.H.(086-4150 : 086-4150)
?
?
?
?
?
?
?
?
?
?
?
?
?
?
?
?
?
?
?
?
?
?
?
?