| Номер на схеме | Каталожный номер | Название | Количество | Детали | |||
|---|---|---|---|---|---|---|---|
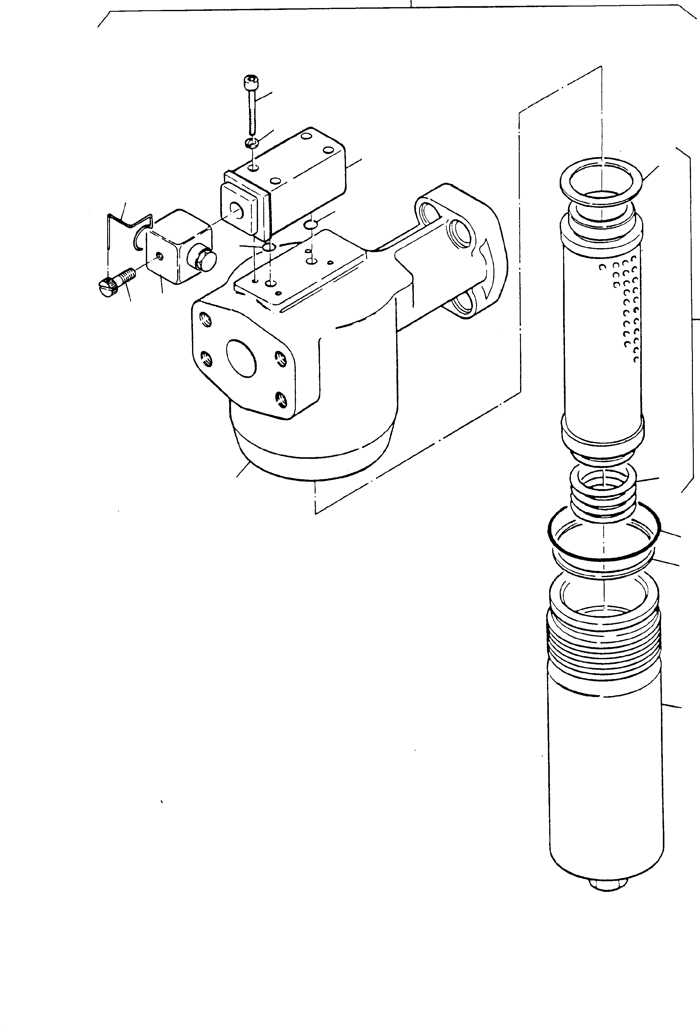
| ? | 461 187 40 | H.P. Filter assy. | 1 | EnglischBem: DeutschBem: DeutschDesc: Hochdruckfilter kpl. InternBDB: Argo 0516004 HD209-22 InternKon: SerienBem: Zwhead_Deu: Zwhead_Eng: |
|||
| ? | 696 495 73 | Pressure switch assy. (8,5bar) | 1 | EnglischBem: DeutschBem: DeutschDesc: Differenzdruckschalter, kpl.
(8,5bar) InternBDB: Argo 0802008-02 mit Zubehцr DG 021-05Z2 InternKon: / 1 SerienBem: Zwhead_Deu: Zwhead_Eng: |
|||
| ? | 319 409 99 | Screw | 4 | EnglischBem: DeutschBem: DeutschDesc: Schraube InternBDB: M4x30/912 InternKon: / 4 SerienBem: Zwhead_Deu: Zwhead_Eng: |
|||
| ? | 343 092 99 | Lock washer | 4 | EnglischBem: DeutschBem: DeutschDesc: Federring InternBDB: B4/127 InternKon: / 3 SerienBem: Zwhead_Deu: Zwhead_Eng: |
|||
| ? | 972 150 | O-ring | 2 | EnglischBem: DeutschBem: DeutschDesc: O-Ring InternBDB: 4,5x1,5/70 InternKon: / 2 SerienBem: Zwhead_Deu: Zwhead_Eng: |
|||
| ? | 697 672 73 | Filter head | 1 | EnglischBem: DeutschBem: DeutschDesc: Filterkopf InternBDB: 372 3246 InternKon: / 7 SerienBem: Zwhead_Deu: Zwhead_Eng: |
|||
| ? | 695 999 73 | Strainer insert assy. | 1 | EnglischBem: DeutschBem: DeutschDesc: Siebeinsatz kpl. InternBDB: 166 9005 InternKon: / 9 SerienBem: Zwhead_Deu: Zwhead_Eng: |
|||
| ? | 692 866 | Gasket | 1 | EnglischBem: DeutschBem: DeutschDesc: Dichtung InternBDB: 3206 114 InternKon: / 11 SerienBem: Zwhead_Deu: Zwhead_Eng: |
|||
| ? | 692 867 | Spring | 1 | EnglischBem: DeutschBem: DeutschDesc: Feder InternBDB: 3208 486 InternKon: / 10 SerienBem: Zwhead_Deu: Zwhead_Eng: |
|||
| ? | 502 900 98 | O-ring | 1 | EnglischBem: DeutschBem: DeutschDesc: O-Ring InternBDB: 63x3,5 InternKon: / 6 SerienBem: Zwhead_Deu: Zwhead_Eng: |
|||
| ? | 692 868 | Housing | 1 | EnglischBem: DeutschBem: DeutschDesc: Gehдuse InternBDB: 372 3155 InternKon: / 8 SerienBem: Zwhead_Deu: Zwhead_Eng: |
|||
| ? | 694 293 | Back-ring | 1 | EnglischBem: DeutschBem: DeutschDesc: Back-Ring InternBDB: 461 9012 InternKon: / 5 SerienBem: Zwhead_Deu: Zwhead_Eng: |
|||
| ? | 697 292 73 | Box | 1 | EnglischBem: DeutschBem: DeutschDesc: Leitungsdose InternBDB: 333 3001 InternKon: / 12 SerienBem: Zwhead_Deu: Zwhead_Eng: |
|||
| ? | 697 293 73 | Rim screw | 1 | EnglischBem: DeutschBem: DeutschDesc: Rдndelschraube InternBDB: 452 3050 InternKon: / 13 SerienBem: Zwhead_Deu: Zwhead_Eng: |
|||
| ? | 697 294 73 | Locking spring | 1 | EnglischBem: DeutschBem: DeutschDesc: Sicherungsfeder InternBDB: 462 2031 InternKon: / 14 SerienBem: Zwhead_Deu: Zwhead_Eng: |