k-part
Номер на схеме Каталожный номер Название Количество Детали
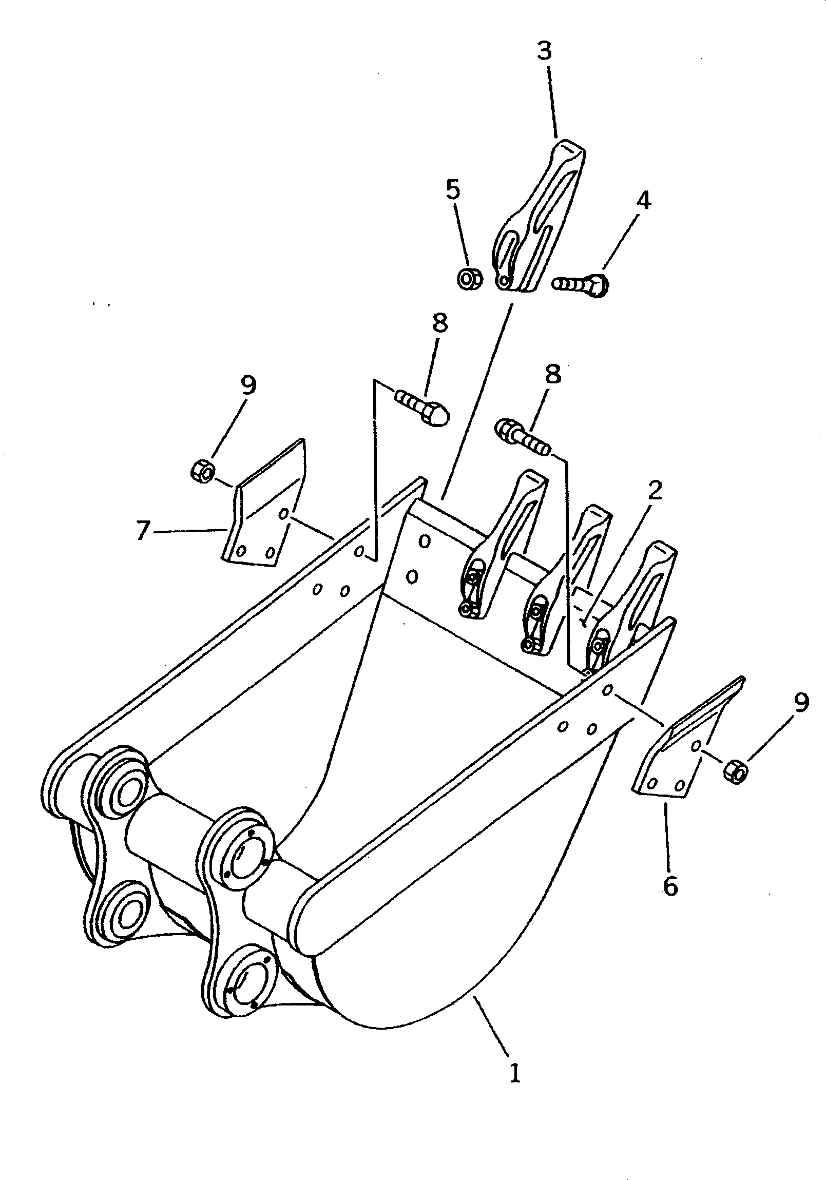
? 20R-70-00330 BUCKET ASS'Y 1
SN: 3001-
KIT-FLAG: _-
SERIALNO: 3001-
? 20R-70-71310 • BUCKET,(425MM) 1
SN: 3001-
KIT-FLAG: _-
SERIALNO: 3001-
? 20R-70-71320 • • LIP (WELDED) 1
SN: 3001-
KIT-FLAG: _-
SERIALNO: 3001-
? 10E-70-22211 • TOOTH 4
SN: 3001-
KIT-FLAG: _-
SERIALNO: 3001-
? 02090-11055 • BOLT 8
SN: 3001-
KIT-FLAG: _-
SERIALNO: 3001-
? 09218-11614 • NUT 8
SN: 3001-
KIT-FLAG: _-
SERIALNO: 3001-
? 20S-70-71330 • CUTTER,SIDE, L.H. 1
SN: 3001-
KIT-FLAG: _-
SERIALNO: 3001-
? 20S-70-71340 • CUTTER,SIDE, R.H. 1
SN: 3001-
KIT-FLAG: _-
SERIALNO: 3001-
? 20P-70-71351 • BOLT 6
SN: 4609-
KIT-FLAG: _-
SERIALNO: 4609-
? □20P-70-71350 • BOLT 6
SN: 3141-4608
KIT-FLAG: _-
SERIALNO: 3141-4608
? 01675-31443 • BOLT 6
SN: 3001-3140
KIT-FLAG: _-
SERIALNO: 3001-3140
? 20P-70-71360 • NUT 6
SN: 3141-
KIT-FLAG: _-
SERIALNO: 3141-
? 01803-21415 • NUT 6
SN: 3001-3140
KIT-FLAG: _-
SERIALNO: 3001-3140

Excavators Komatsu / PC38UU-2 S/N 3001-UP(pc38uu-c) / BUCKET ? 0.08M3 (MINI 0.14M3) WIDTH 500MM(360340 : T1510-01A2)