k-part
Номер на схеме Каталожный номер Название Количество Детали
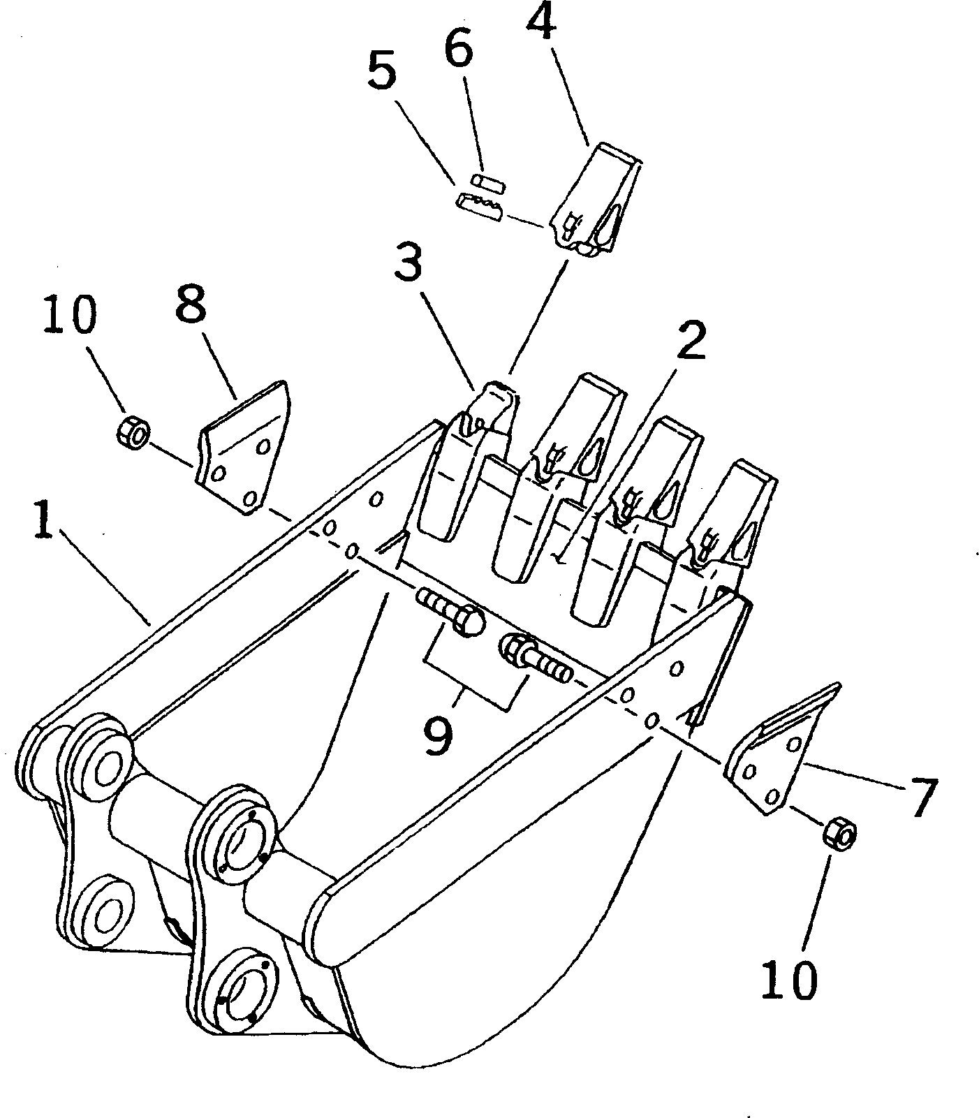
? 20R-70-00730 BUCKET ASS'Y 1
SN: 1001-
? 20R-70-72410 • BUCKET,(425MM) 1
SN: 1001-
? 20R-70-72420 • • LIP (WELDED) 1
SN: 1001-
? 20T-70-72310 • • ADAPTER (WELDED) 4
SN: 1001-
? 20T-70-72320 • TOOTH 4
SN: 1001-
? 20T-70-71950 • PIN 4
SN: 1001-
? 20T-70-71960 • LOCK 4
SN: 1001-
? 20S-70-71330 • CUTTER,SIDE ? L.H. 1
SN: 1001-
? 20S-70-71340 • CUTTER,SIDE ? R.H. 1
SN: 1001-
? 20P-70-71351 • BOLT 6
SN: 1001-
? 20P-70-71360 • NUT 6
SN: 1001-

Excavators Komatsu / PC38UUM-2 S/N 1001-UP(pc38uumr) / BUCKET ? 0.08M3 (MINI 0.14M3) WIDTH 500MM (VERTICAL PIN           TYPE)(360270 : T1510-01A5)