k-part
Номер на схеме Каталожный номер Название Количество Детали
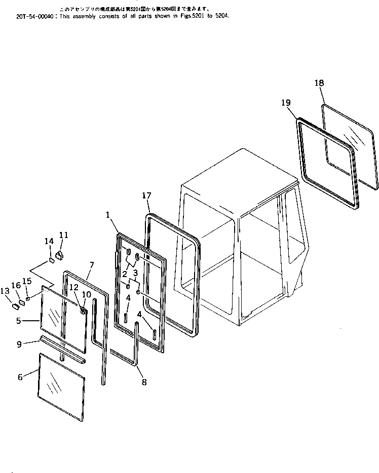
? (20T-54-00040) OPERATOR'S CAB ASS'Y 1
SN: 8501-
KIT-FLAG: _-
SERIALNO: 8501-
? (20T-54-00650) OPERATOR'S CAB ASS'Y 1
SN: 8501-
KIT-FLAG: _-
SERIALNO: 8501-
? 20T-54-32320 • SASH ASS'Y 1
SN: 8501-
KIT-FLAG: _-
SERIALNO: 8501-
? 20T-54-32710 • • SASH 1
SN: 8501-
KIT-FLAG: _-
SERIALNO: 8501-
? 20T-54-32890 • • • CATCH 2
SN: 8501-
KIT-FLAG: _-
SERIALNO: 8501-
? 20T-54-32910 • • • STOPPER 2
SN: 8501-
KIT-FLAG: _-
SERIALNO: 8501-
? 20T-54-32920 • • • STOPPER 2
SN: 8501-
KIT-FLAG: _-
SERIALNO: 8501-
? 20T-54-32660 • • GLASS 1
SN: 8501-
KIT-FLAG: _-
SERIALNO: 8501-
? 20T-54-32670 • • GLASS 1
SN: 8501-
KIT-FLAG: _-
SERIALNO: 8501-
? 20T-54-32730 • • CHANNEL 1
SN: 8501-
KIT-FLAG: _-
SERIALNO: 8501-
? 20T-54-32720 • • STRIP,WEATHER 1
SN: 8501-
KIT-FLAG: _-
SERIALNO: 8501-
? 20T-54-32330 • • SASH 1
SN: 8501-
KIT-FLAG: _-
SERIALNO: 8501-
? 20T-54-32810 • • LOCK ASS'Y,L.H. 1
SN: 8501-
KIT-FLAG: _-
SERIALNO: 8501-
? 20T-54-32820 • • LOCK ASS'Y,R.H. 1
SN: 8501-
KIT-FLAG: _-
SERIALNO: 8501-
? 20T-54-32760 • • RETAINER,L.H. 1
SN: 8501-
KIT-FLAG: _-
SERIALNO: 8501-
? 20T-54-32770 • • RETAINER,R.H. 1
SN: 8501-
KIT-FLAG: _-
SERIALNO: 8501-
? 20T-54-32750 • • PACKING, 2.0MM 2
SN: 8501-
KIT-FLAG: _-
SERIALNO: 8501-
? 20T-54-32780 • • PACKING 6
SN: 8501-
KIT-FLAG: _-
SERIALNO: 8501-
? 20T-54-32870 • • PACKING, 1.0MM 2
SN: 8501-
KIT-FLAG: _-
SERIALNO: 8501-
? 20T-54-32420 • STRIP,WEATHER 1
SN: 8501-
KIT-FLAG: _-
SERIALNO: 8501-
? 20T-54-32360 • GLASS 1
SN: 8501-
KIT-FLAG: _-
SERIALNO: 8501-
? 20T-54-32460 • STRIP,WEATHER 1
SN: 8501-
KIT-FLAG: _-
SERIALNO: 8501-

Excavators Komatsu / PC40-5 S/N 8501-UP(pc40-5c) / OPERATOR